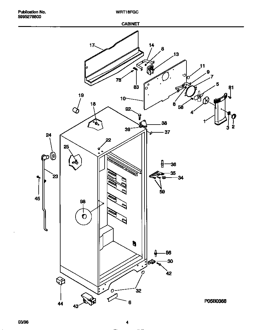
WRT18FGCW2 03 – CABINET