| *21122 | INSULATION |
| *21120 | WCI 215940700 |
| *21121 | WCI 215782300 |
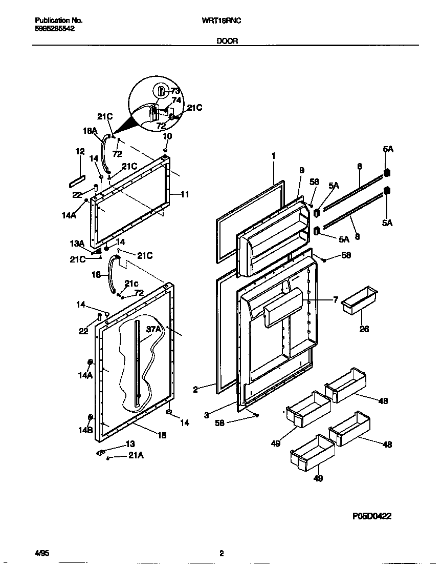
| 1 | WCI 215608906 |
| 2 | 5303207345 Frigidaire Refrigerator Door Gasket |
| 3 | WCI 218360701 |
| 5 | 215473602 Frigidaire Refrigerator White Left or Right Door Shelf End Cap |
| 7 | WCI 215058112 |
| 8 | 215366002 Frigidaire Refrigerator Door Wide Rack |
| 9 | WCI 218360101 |
| 10 | PLUG-BUTTON, ALMOND, HINGE BRG HOLE |
| 11 | WCI 5303917584 |
| 12 | MAGNET-NAMEPLATE (NOT ILLUSTRATED) |
| 12 | WCI 218409402 |
| 12 | WCI 215220339 |
| 13 | WCI 218249002 |
| 13 | WCI 5308000255 |
| 14 | PLUG-BUTTON, ALMOND, REFR DOOR FRONT, UPPER |
| 14 | PLUG-BUTTON, ALMOND, HANDLE/DR STOP |
| 14 | WCI 218074002 |
| 15 | WCI 5303917588 |
| 18 | WCI 218428102 |
| 18 | WCI 218428105 |
| 21 | 218252201 Frigidaire Refrigerator Screw |
| 21 | SCREW, NO. 8 OVAL HEAD, 10-32 (CA) X 5/8, CROSS RECESSED |
| 22 | BEARING-HINGE |
| 26 | WCI 3204522 |
| 37 | WCI 218397702 |
| 48 | WCI 218286005 |
| 49 | WCI 5303309864 |
| 58 | 5304455651 Frigidaire Refrigerator Screw |
| 72 | WCI 218397000 |
| 73 | 218396700 Frigidaire Door Handle Mounting Block |
| 74 | 215503203 Frigidaire Refrigerator Door Handle Screw |