| *37880 | INSULATION |
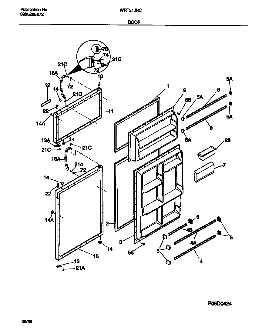
| 1 | WCI 215608913 |
| 2 | WCI 215732413 |
| 3 | WCI 215393201 |
| 5 | 215267701 Frigidaire Refrigerator White Door Shelf Endcap Left or Right |
| 5A | 215473602 Frigidaire Refrigerator White Left or Right Door Shelf End Cap |
| 7 | WCI 215058112 |
| 8 | 215366002 Frigidaire Refrigerator Door Wide Rack |
| 9 | WCI 215530301 |
| 10 | PLUG-BUTTON, WHITE, HINGE BRG HOLE |
| 11 | WCI 5303917608 |
| 12 | WCI 215220337 |
| 12 | MAGNET-NAMEPLATE (NOT ILLUSTRATED) |
| 12 | WCI 218409401 |
| 13 | DOOR STOP, REFR SECTION |
| 13A | WCI 218249001 |
| 14A | 240494001 Frigidaire Refrigerator Plug Button |
| 15 | WCI 5303917623 |
| 18A | WHITE DOOR HANDLE |
| 21C | 218252201 Frigidaire Refrigerator Screw |
| 21A | SCREW, NO. 8 OVAL HEAD, 10-32 (CA) X 5/8, CROSS RECESSED |
| 22 | BEARING-HINGE |
| 26 | WCI 3204522 |
| 58 | 5304455651 Frigidaire Refrigerator Screw |
| 72 | WCI 218397000 |
| 73 | 218396700 Frigidaire Door Handle Mounting Block |
| 74 | 215503203 Frigidaire Refrigerator Door Handle Screw |