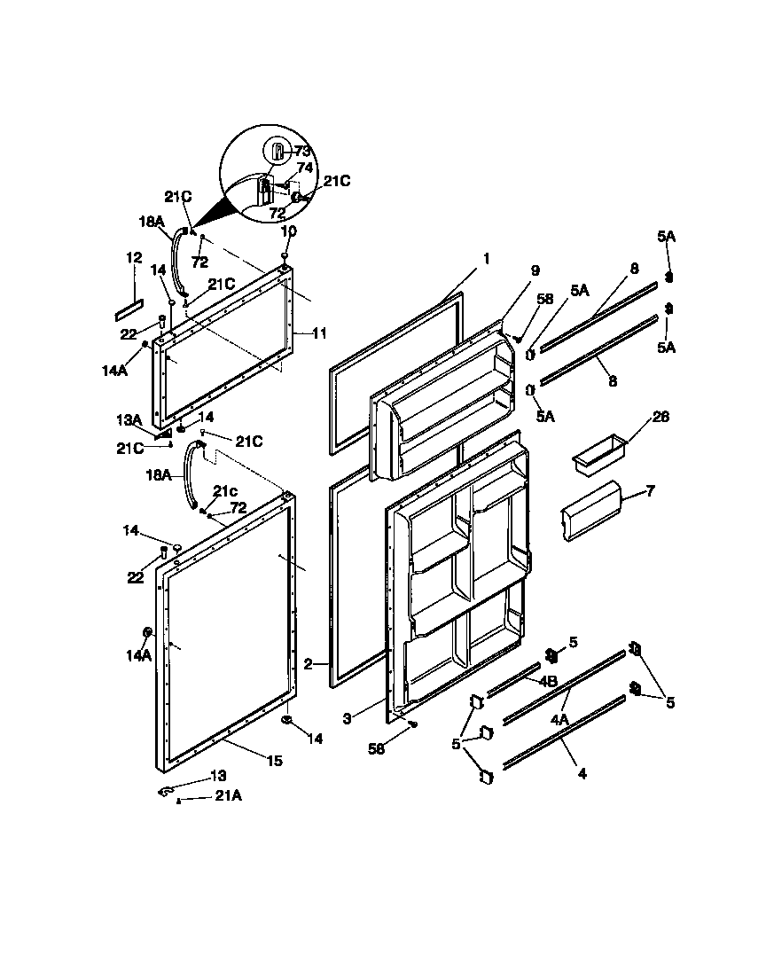
| *87720 | INSULATION |
| NI | WCI 215220339 |
| NI | MAGNET-NAMEPLATE (NOT ILLUSTRATED) |
| 1 | WCI 215608903 |
| 2 | WCI 215732403 |
| 3 | WCI 215393201 |
| 5 | 215473602 Frigidaire Refrigerator White Left or Right Door Shelf End Cap |
| 5A | 215267701 Frigidaire Refrigerator White Door Shelf Endcap Left or Right |
| 7 | WCI 215058112 |
| 8 | 215366002 Frigidaire Refrigerator Door Wide Rack |
| 9 | WCI 215530301 |
| 10 | PLUG-BUTTON, ALMOND, HINGE BRG HOLE |
| 11 | WCI 5303917609 |
| 12 | WCI 218409402 |
| 13A | WCI 218249002 |
| 13 | DOOR STOP, REFR SECTION |
| 14 | PLUG-BUTTON, ALMOND, HANDLE/DR STOP |
| 14 | PLUG-BUTTON, ALMOND, REFR DOOR FRONT, UPPER |
| 15 | WCI 5303917624 |
| 18 | WCI 218428102 |
| 21 | 218252201 Frigidaire Refrigerator Screw |
| 21 | SCREW, NO. 8 OVAL HEAD, 10-32 (CA) X 5/8, CROSS RECESSED |
| 22 | BEARING-HINGE |
| 26 | WCI 3204522 |
| 58 | 5304455651 Frigidaire Refrigerator Screw |
| 72 | WCI 218397000 |
| 73 | 218396700 Frigidaire Door Handle Mounting Block |
| 74 | 215503203 Frigidaire Refrigerator Door Handle Screw |