WSM2420SAZWW SUSPENSION ASM
Products
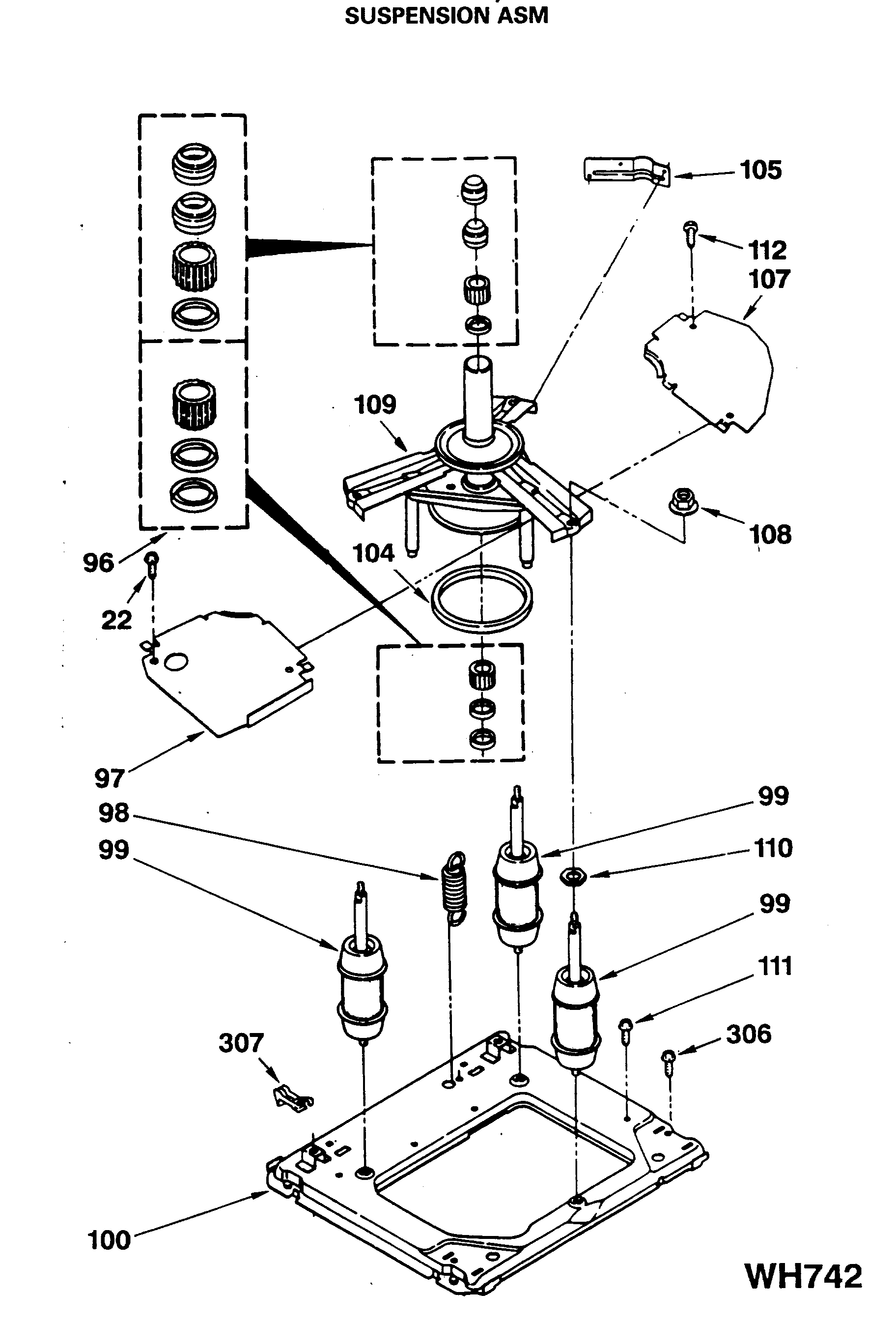
| Position | Product |
|---|---|
| 96 | GEN WH04X0106 |
| 97 | GEN WH16X0508 |
| 98 | GEN WH01X2675 |
| 99 | GEN WH17X0094 |
| 100 | GEN WH46X0329 |
| 104 | GEN WH08X0374 |
| 105 | GEN WH16X0509 |
| 107 | GEN WH16X0510 |
| 109 | GEN WH17X0091 |
| 111 | CLIP WINDOW |
| 112 | GEN WE02X0388 |
| 306 | SCREW & WASHER ASM |
| 307 | GEN WH01X2703 |