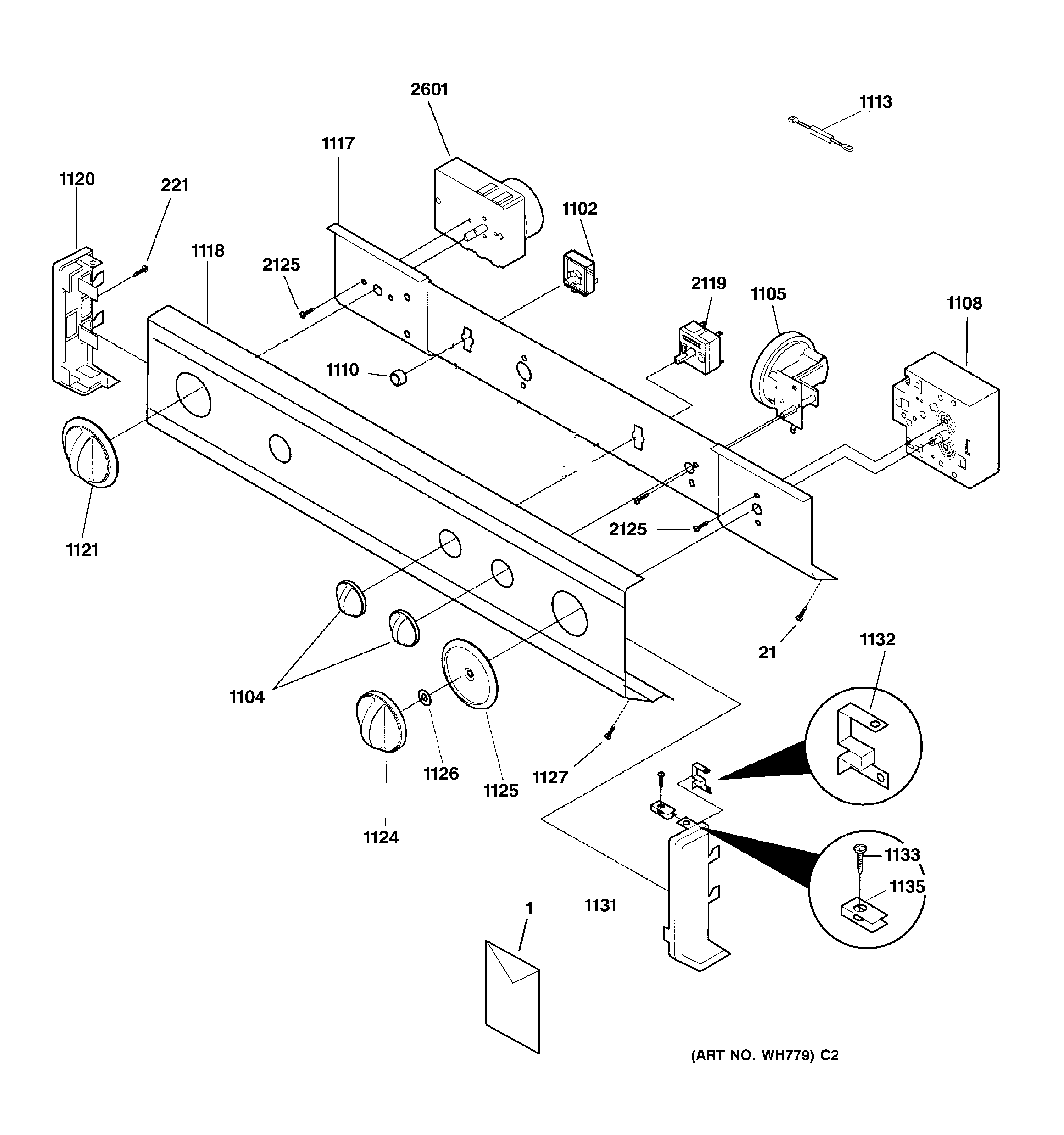
WSM2780TEWAB CONTROL PANEL