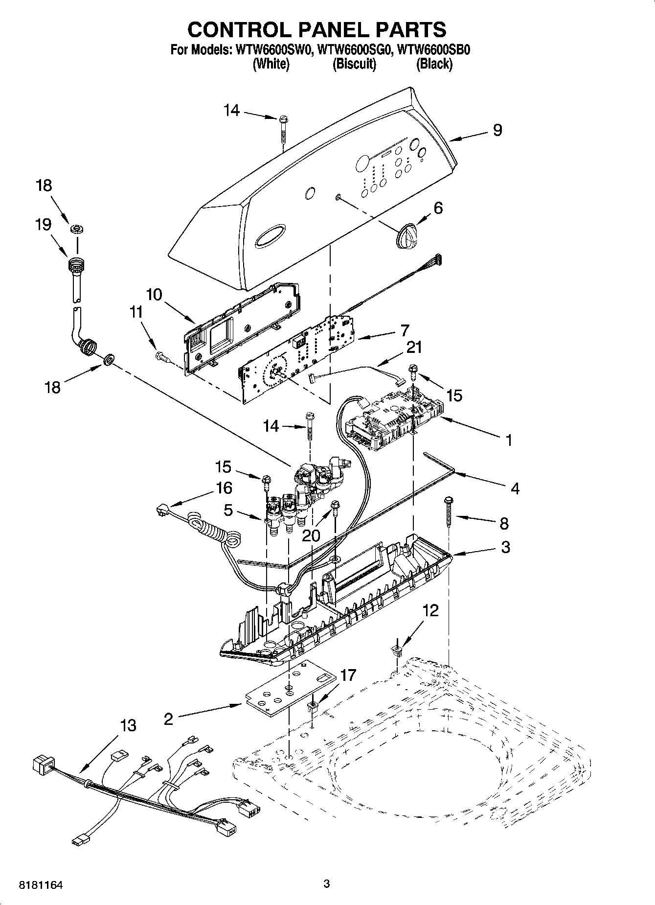
WTW6600SG0 02 – CONTROL PANEL PARTS