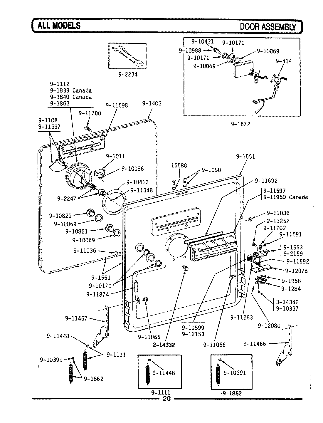
WU302 05 – DOOR ASSEMBLY