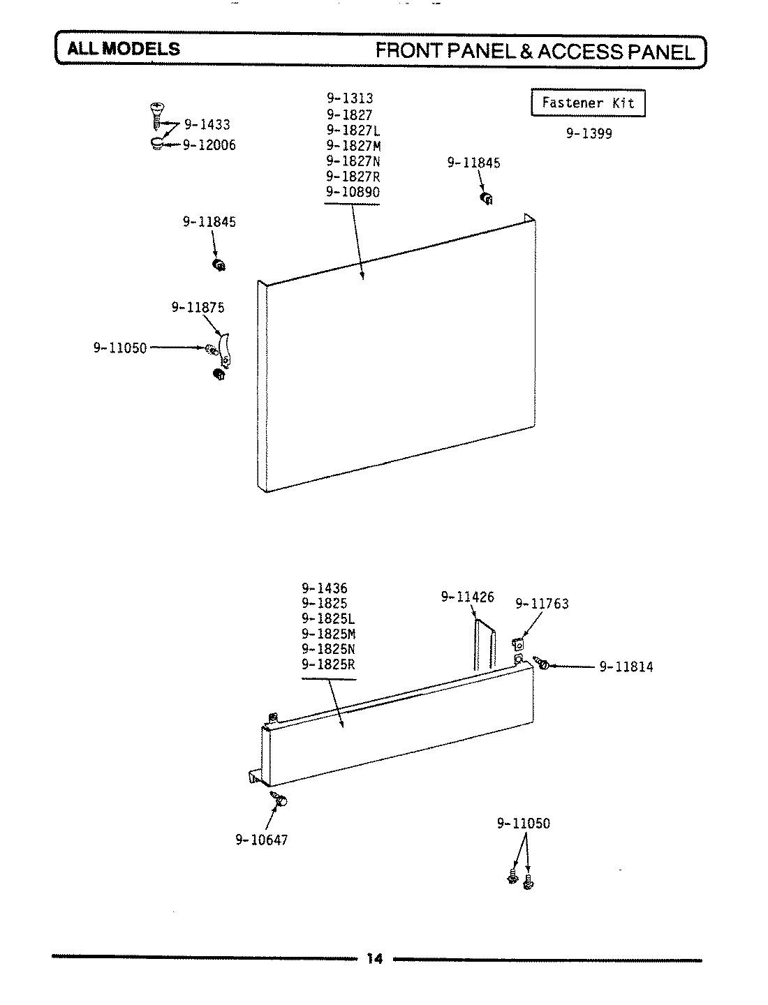
WU500 05 – FRONT PANEL & ACCESS PANEL