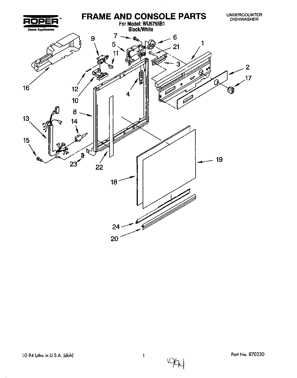
WU5755B1 01 – FRAME AND CONSOLEadmin2025-04-26T11:29:29+00:00WU5755B1 01 – FRAME AND CONSOLE ProductsPositionProduct1Console (Incl. Illus. 2)2Insert, Console3Switch, 7-Pushbutton4Follower, Cam5Timer6WP8271510 Whirlpool Dishwasher Cam83374711 Whirlpool Dishwasher Frame9WP3380854 Whirlpool Door Latch Bolt10WP3368954 Whirlpool Dishwasher Lever11Shield, Switch12Pin, Switch (2)13Harness and Protector143376405 Whirlpool Dishwasher Elbow15WP488234 Whirlpool Air Conditioner Screw16Cover Timer17Knob, Timer18Spacer, Corrugated19WP3369769 Whirlpool Dishwasher Panel20Retainer, Panel (White)21WP304231 Whirlpool Dishwasher Screw22Trim (2)23WP3373234 Whirlpool Dishwasher Bearing24WP3374716 Whirlpool Dishwasher Channel