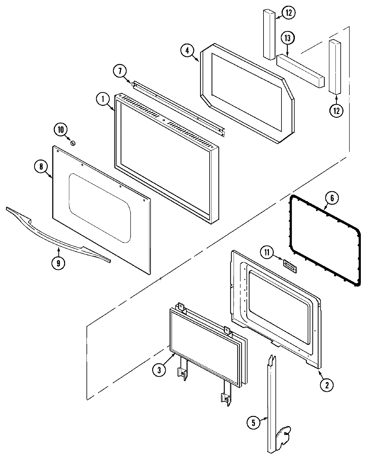
WW27110B 03 – DOOR