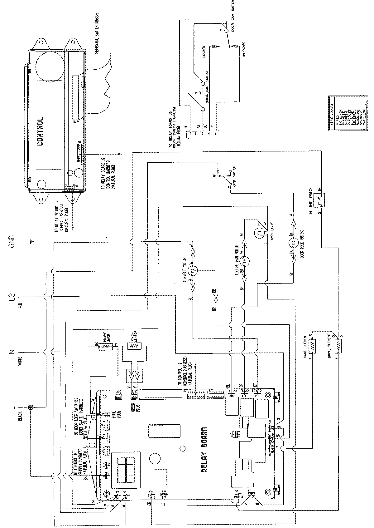
WW27430B 06 – WIRING INFORMATIONadmin2025-04-26T08:48:35+00:00WW27430B 06 – WIRING INFORMATION ProductsPositionProductNIMAY 15001719