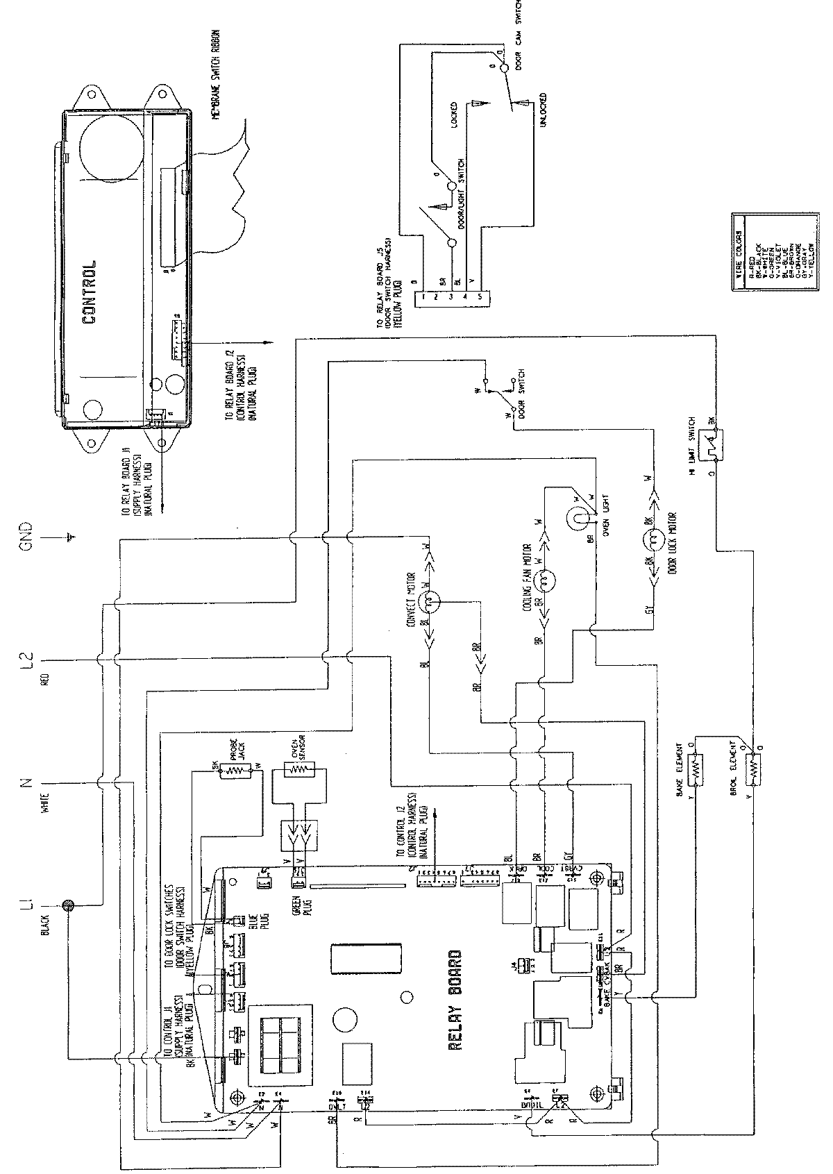
WW27430W 06 – WIRING INFORMATIONadmin2025-04-26T08:48:32+00:00WW27430W 06 – WIRING INFORMATION ProductsPositionProductNIMAY 15001719