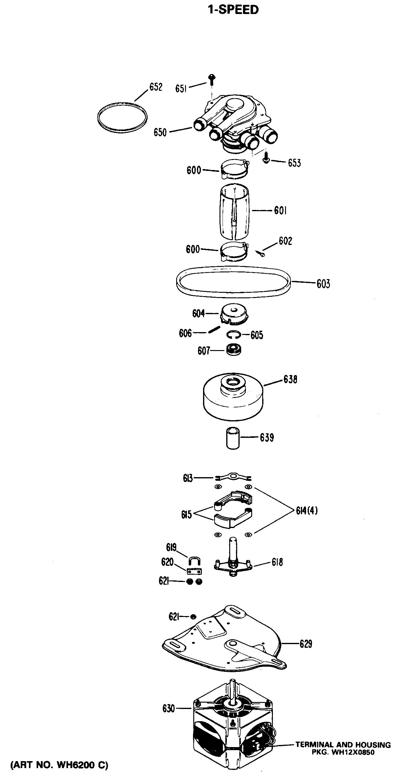
WWA5710MAL 1-SPEED
Products
| Position | Product |
|---|---|
| 560 | GEN WD01X1434 |
| 600 | GEN WH01X1621 |
| 601 | GEN WH01X1722 |
| 602 | GEN WH02X0941 |
| 604 | GEN WH07X0045 |
| 605 | GEN WH02X0190 |
| 606 | PIN ROLL |
| 613 | GEN WH01X1309 |
| 614 | GEN WH02X0539 |
| 615 | GEN WH07X0110 |
| 618 | GEN WH40X0151 |
| 619 | GEN WH02X0543 |
| 620 | GEN WH01X1169 |
| 621 | NUT & LOCKWASHER 10-32 |
| 629 | GEN WH17X0086 |
| 630 | GEN WH20X0064 |
| 638 | GEN WH05X0174 |
| 639 | GEN WH02X0581 |
| 651 | GEN WH02X0888 |
| 653 | SCR 10-16 AB HXW 1 3/8 S |