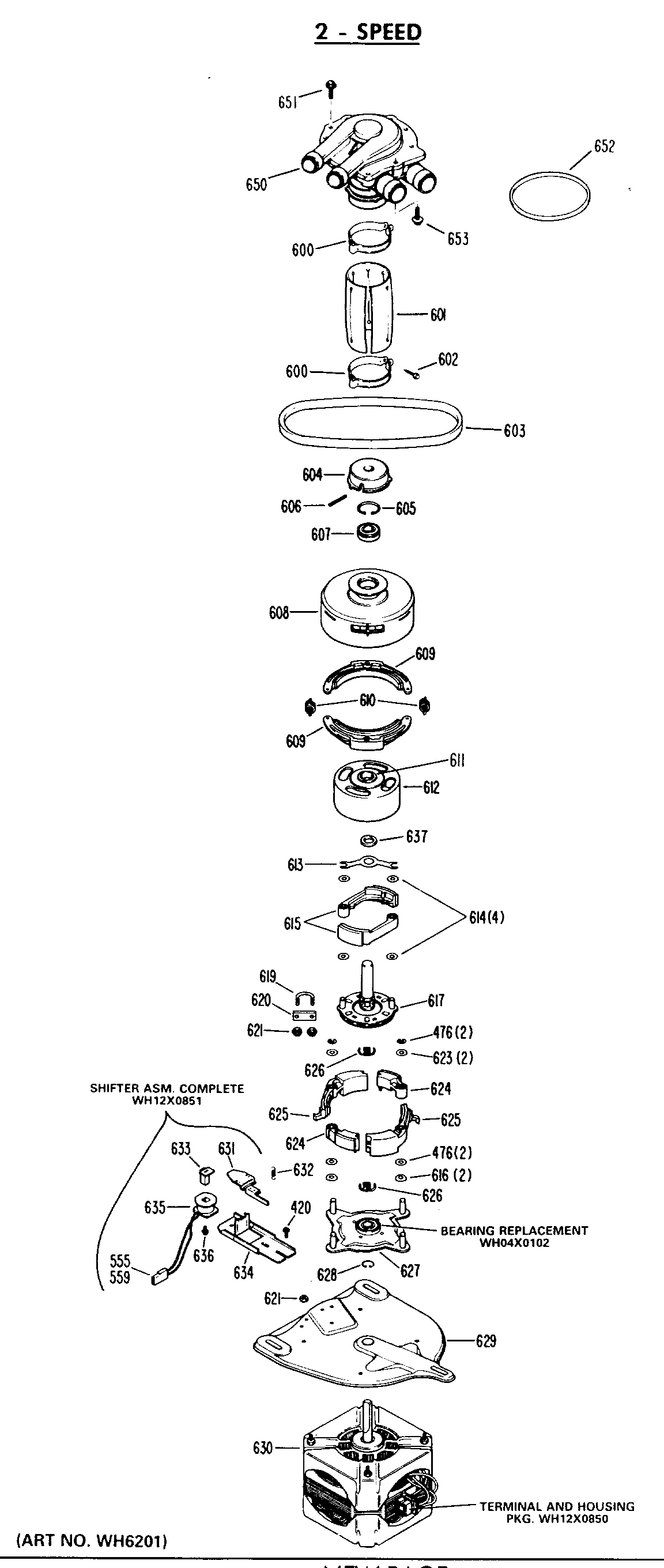
WWA8330GBL 2-SPEEDadmin2025-04-26T11:04:23+00:00WWA8330GBL 2-SPEED ProductsPositionProduct420GEN WH02X0893476RING-E555GEN WB17X5053559GEN WH12X0538600GEN WH01X1621601GEN WH01X1722602GEN WH02X0941603WH1X2026 GE Washer Drive Belt604GEN WH07X0045605GEN WH02X0190606PIN ROLL607GEN WH04X0012608DRUM ASM OUTER609GEN WH07X0103610GEN WH01X1337611GEN WH04X0091612GEN WH05X0207613GEN WH01X1309614GEN WH02X0539615GEN WH07X0110616GEN WH02X0662617PLATE ASM CLUTCH BASE619GEN WH02X0543620GEN WH01X1169621NUT & LOCKWASHER 10-32623GEN WH02X0580624GEN WH05X0193625GEN WH07X0076626GEN WH01X1258627GEN WH17X0053628GEN WZ13X0006629GEN WH17X0086630GEN WH20X0064631GEN WH01X2055632GEN WH01X1797633GEN WH12X0406634GEN WH16X0478635GEN WH12X0533636GEN WH02X0765637GEN WH02X0634650GEN WH23X0042651GEN WH02X0888652GEN WH08X0286653SCR 10-16 AB HXW 1 3/8 S