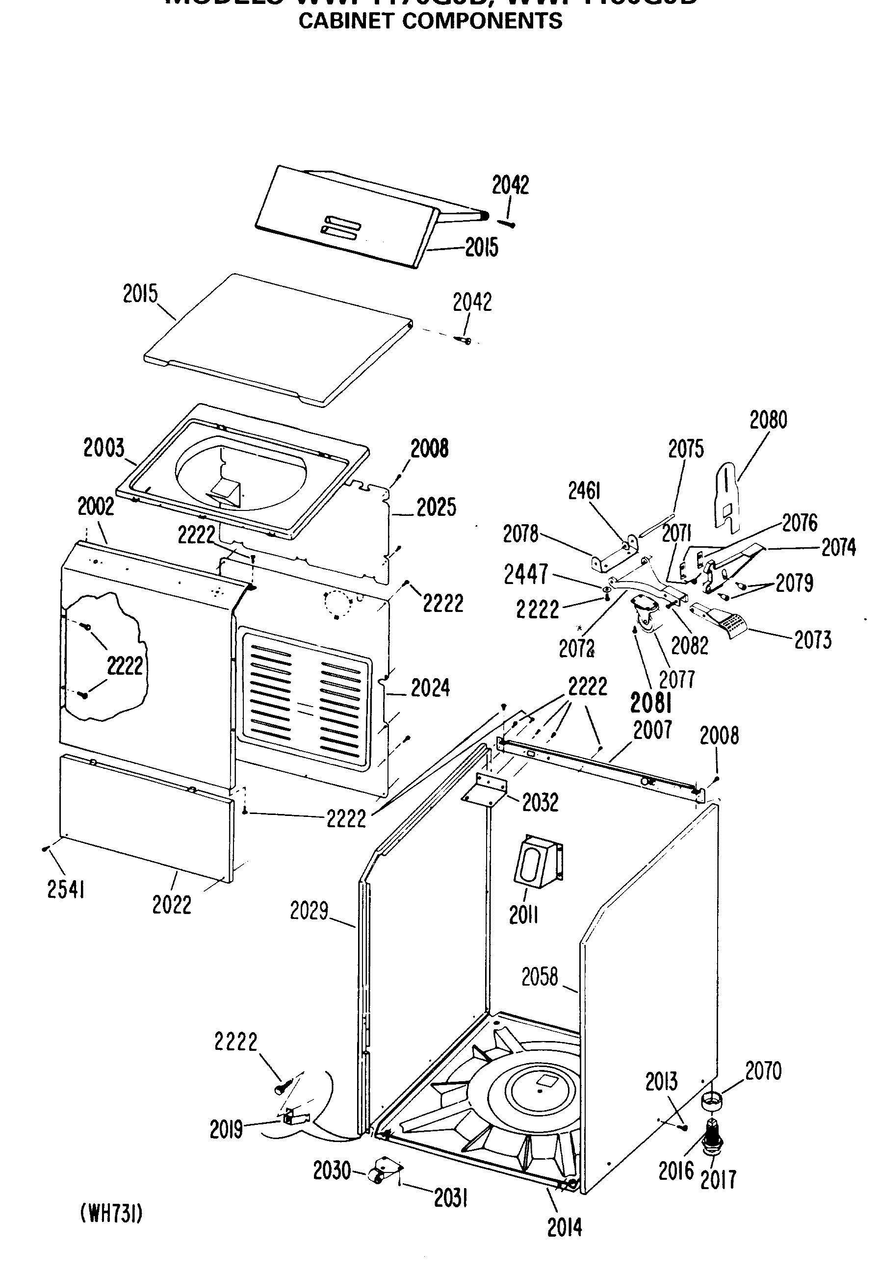
WWP1180GJB CABINET COMPONENTS