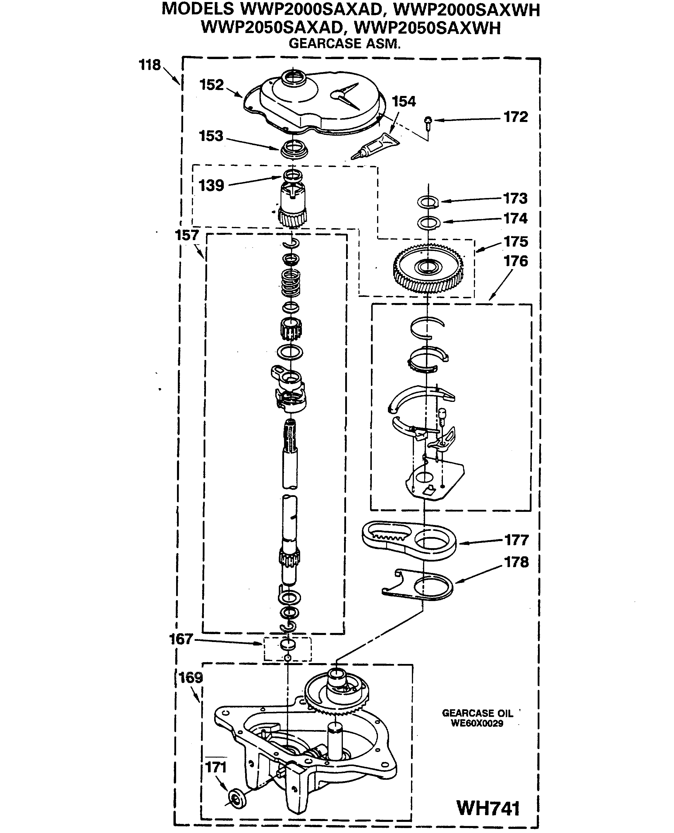
WWP2000SAXAD GEARCASE ASM.