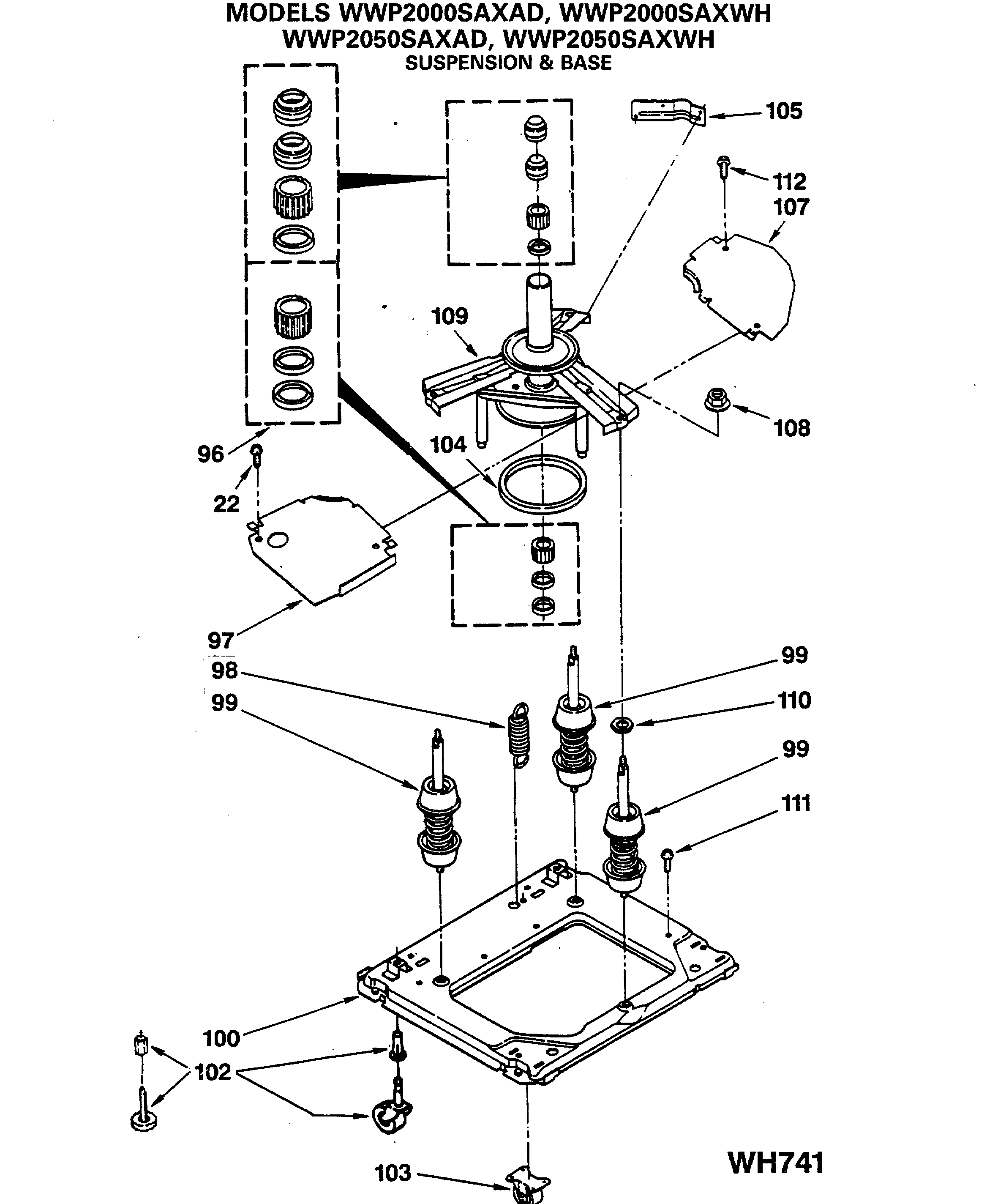
WWP2000SAXAD SUSPENSION & BASE