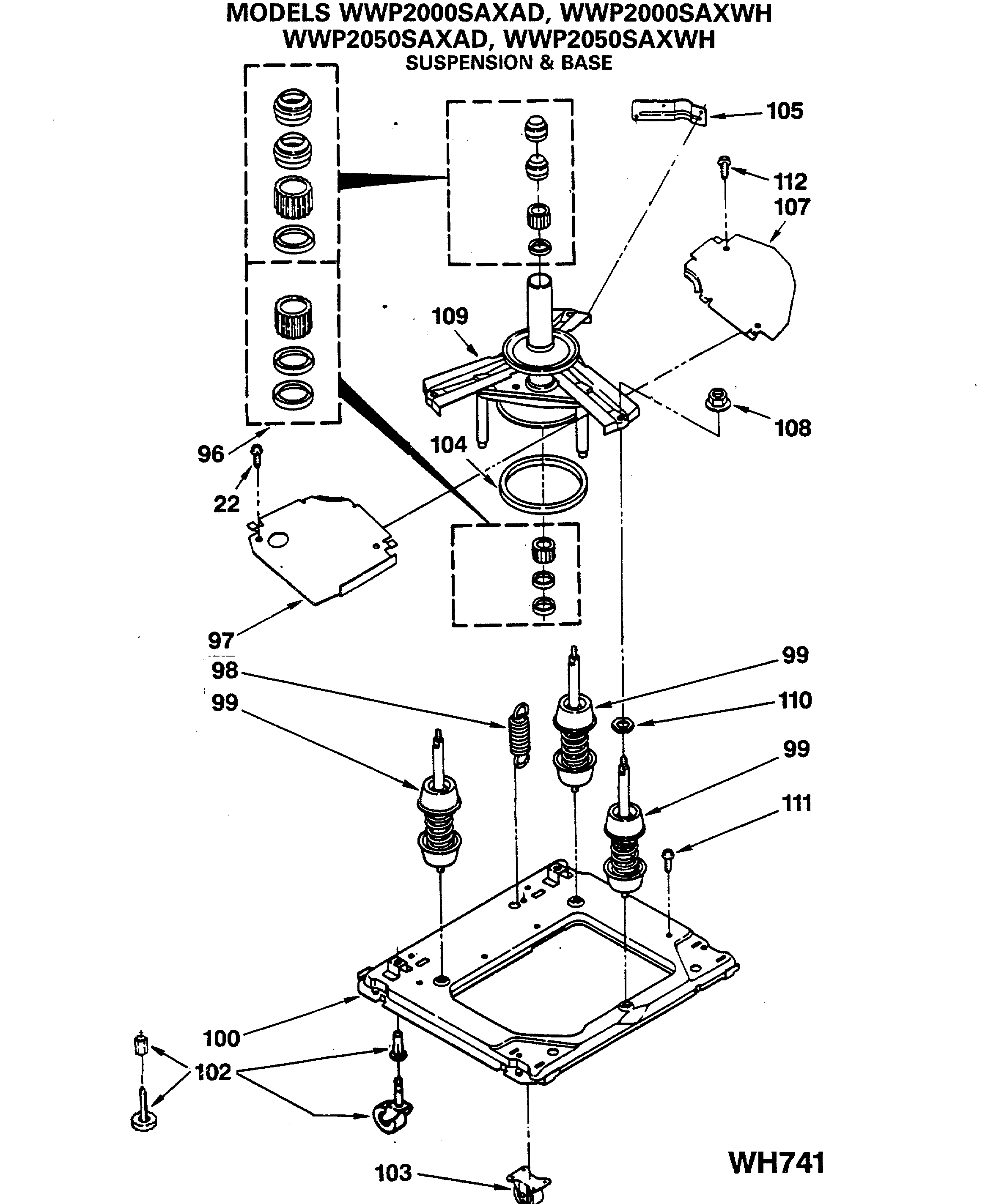
WWP2050SAXAD SUSPENSION & BASE