X05002V0 02 – UNIT, LIT/OPTIONALadmin2025-04-26T11:18:01+00:00X05002V0 02 – UNIT, LIT/OPTIONAL
Products
| Position | Product |
|---|
| Sheet, Tech And Wiring Diagram |
| Guide, Use And Care |
| List, Repair Parts |
| Guide, Energy |
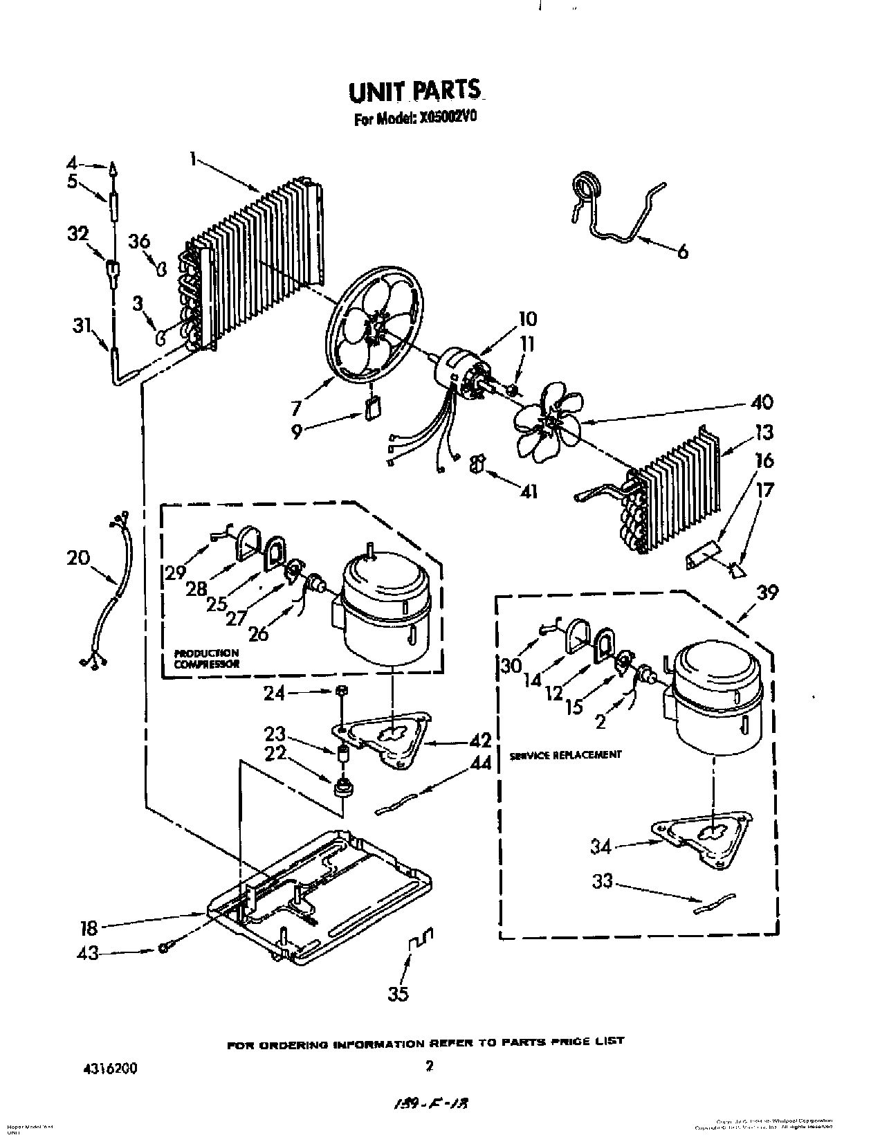
| 1 | Condenser |
| 2 | WPL 643295 |
| 3 | Bend, Return Condenser (4) |
| 4 | Strainer |
| 5 | Tube & Strainer (Includes Item 23) |
| 6 | Tube, Restrictor (Length 40.0``) |
| 7 | Blade, Fan |
| 9 | Clip, Balancing |
| 10 | Motor, Fan |
| 11 | WP488130 Whirlpool Air Conditioner Nut |
| 13 | Evaporator |
| 14 | Cover, Terminal |
| 15 | Spring, Overload |
| 16 | Anticipator, Temperature |
| 17 | Clip, Anticipator |
| 18 | Base |
| 20 | Harness, Wiring |
| 22 | Grommet (4) |
| 23 | Sleeve (3) |
| 24 | Locknut (3) |
| 25 | Gasket, Terminal Cover |
| 26 | Overload |
| 27 | Spring, Overload |
| 28 | Cover, Terminal |
| 29 | Retainer, Terminal Cover |
| 30 | Retainer, Terminal Cover |
| 31 | Tube, 90~ Connect |
| 32 | Tube, Flow Divider |
| 34 | Plate, Mtg |
| 35 | Clip, Mtg. (2) (Base to Front) |
| 36 | Bend, Return Condenser (10) |
| 39 | Compressor Assembly |
| 40 | Fan, Blade Evaporator |
| 41 | Clamp, Wiring |
| 42 | Plate, Mounting Compressor |
| 43 | Screw, Repair |
| 43 | WP489069 Whirlpool Compactor Screw |
| 44 | Spring, Clip |