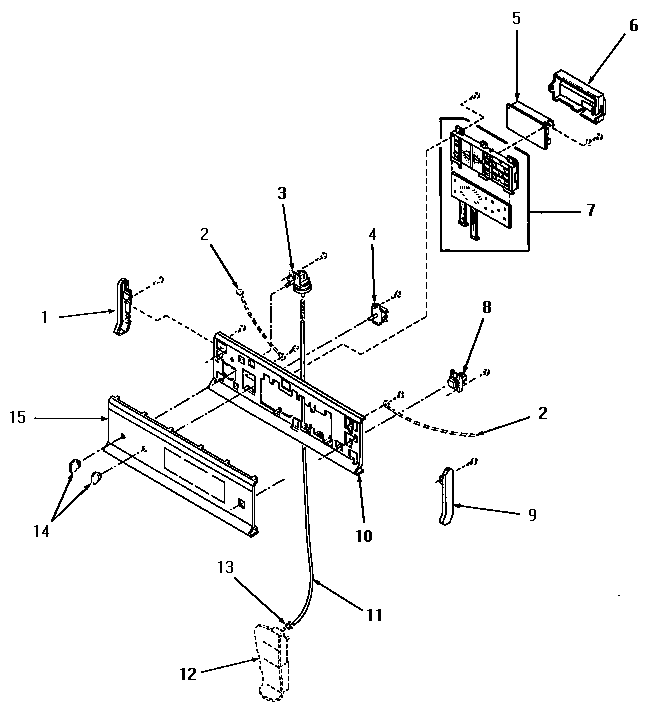
YA1200 05 – CONTROL PANEL AND CONTROLSadmin2025-04-26T08:49:03+00:00YA1200 05 – CONTROL PANEL AND CONTROLS ProductsPositionProduct1MAY 136643MAY 136694MAY 135795MAY 136666MAY 136677MAY 136688MAY 136659MAY 1366310MAY 1366111MAY 1354412SEE NOTE GROUND WIRE, GREEN13MAY 1354514MAY 1357715MAY 13662