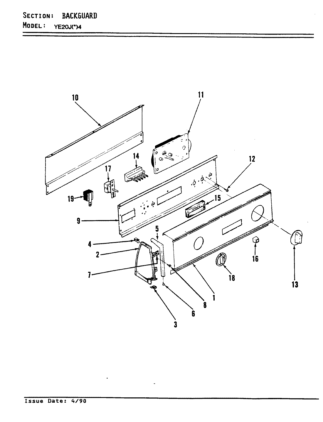
YE20JN4 01 – CONTROL PANEL (REV. A-D)admin2025-04-26T08:49:25+00:00YE20JN4 01 – CONTROL PANEL (REV. A-D) ProductsPositionProduct1MAY 53-12752MAY 53-02652MAY 25-76492MAY 35-24882MAY 53-02642MAY 35-24872MAY 25-77023MAY 25-76973MAY 25-78514MAY 25-78525MAY 53-02785MAY 53-02776MAY 25-77607MAY 25-74359MAY 53-16789MAY 53-032310MAY 25-345710MAY 53-026810MAY 35-268811MAY 53-130011MAY 63-674311MAY 53-181612MAY 25-020512MAY 63-568513MAY 53-152914MAY 53-129614MAY 25-771214MAY 33-662115MAY 33-854116MAY 35-258817MAY 53-034618MAY 35-218519MAY 63-673119WP90767 Whirlpool Screw20MAY 53-1444