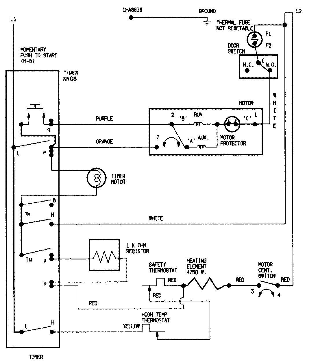
YE224LKM 06 – WIRING INFORMATIONadmin2025-04-26T08:49:36+00:00YE224LKM 06 – WIRING INFORMATION ProductsPositionProductNIMAY 15002037NIMAY 15002532