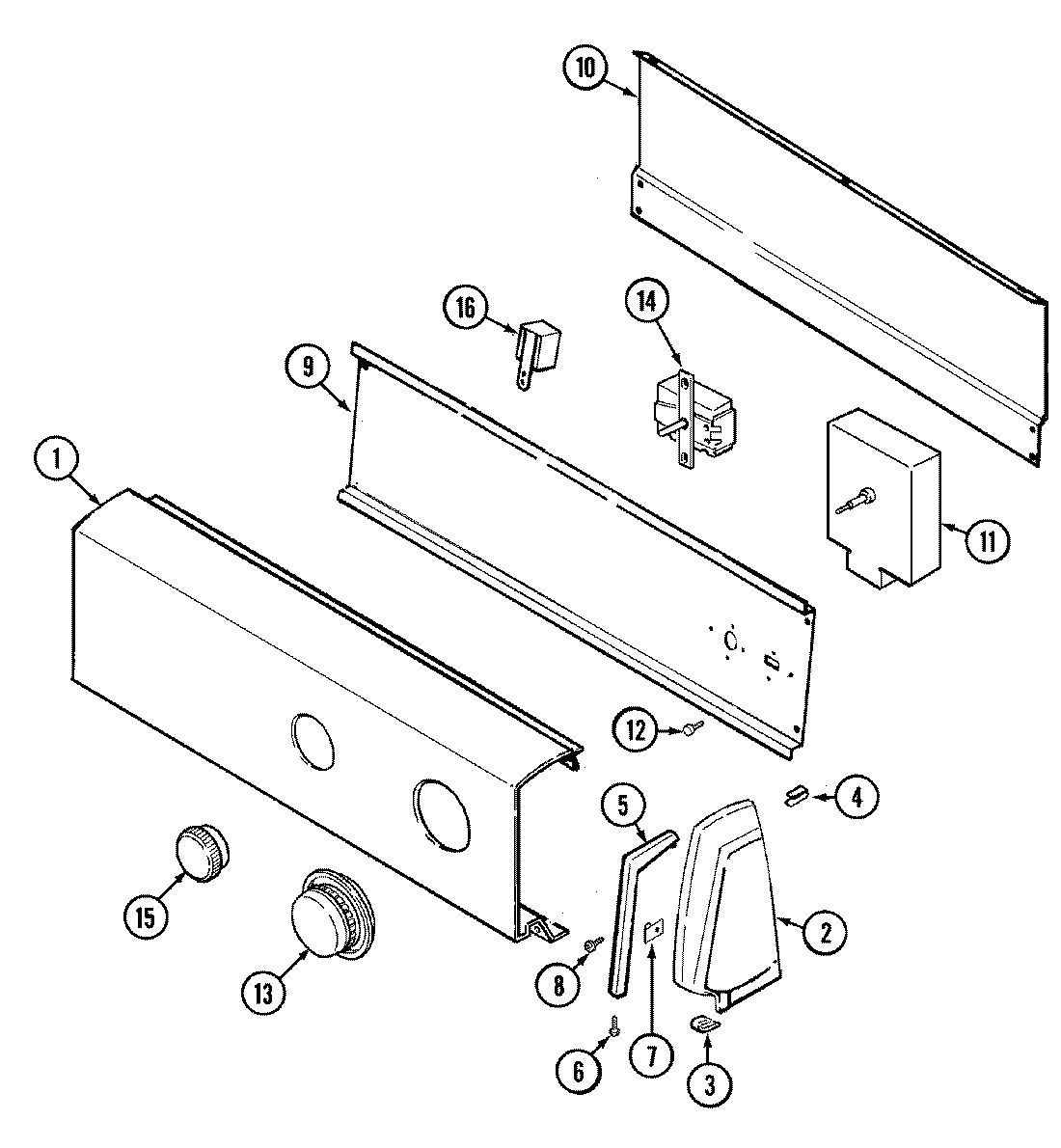
YG20HY3C 02 – CONTROL PANEL (REV. C)admin2025-04-26T08:49:17+00:00YG20HY3C 02 – CONTROL PANEL (REV. C) ProductsPositionProduct1MAY 53-12762MAY 25-76492MAY 35-24872MAY 35-24883MAY 25-78513MAY 25-76974MAY 25-78525MAY 53-02785MAY 53-02776MAY 25-77607MAY 25-77029MAY 53-167610MAY 35-268811MAY 53-175812MAY 25-743513MAY 53-152914MAY 53-034415MAY 35-218516MAY 1600032916MAY 63-673116WP90767 Whirlpool Screw17MAY 53-1456-2