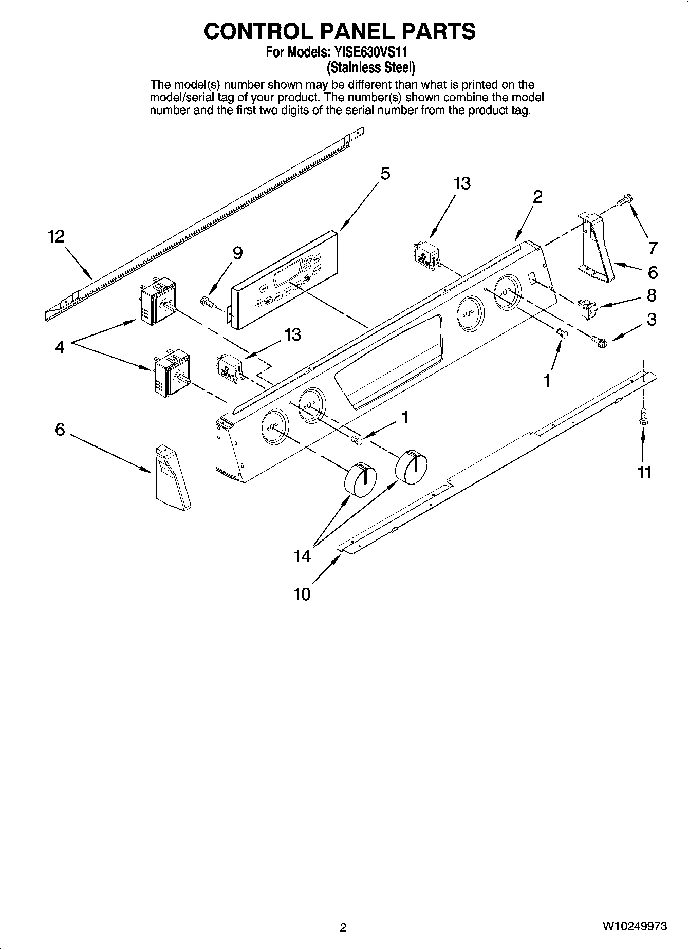
YISE630VS11 02 – CONTROL PANEL PARTS