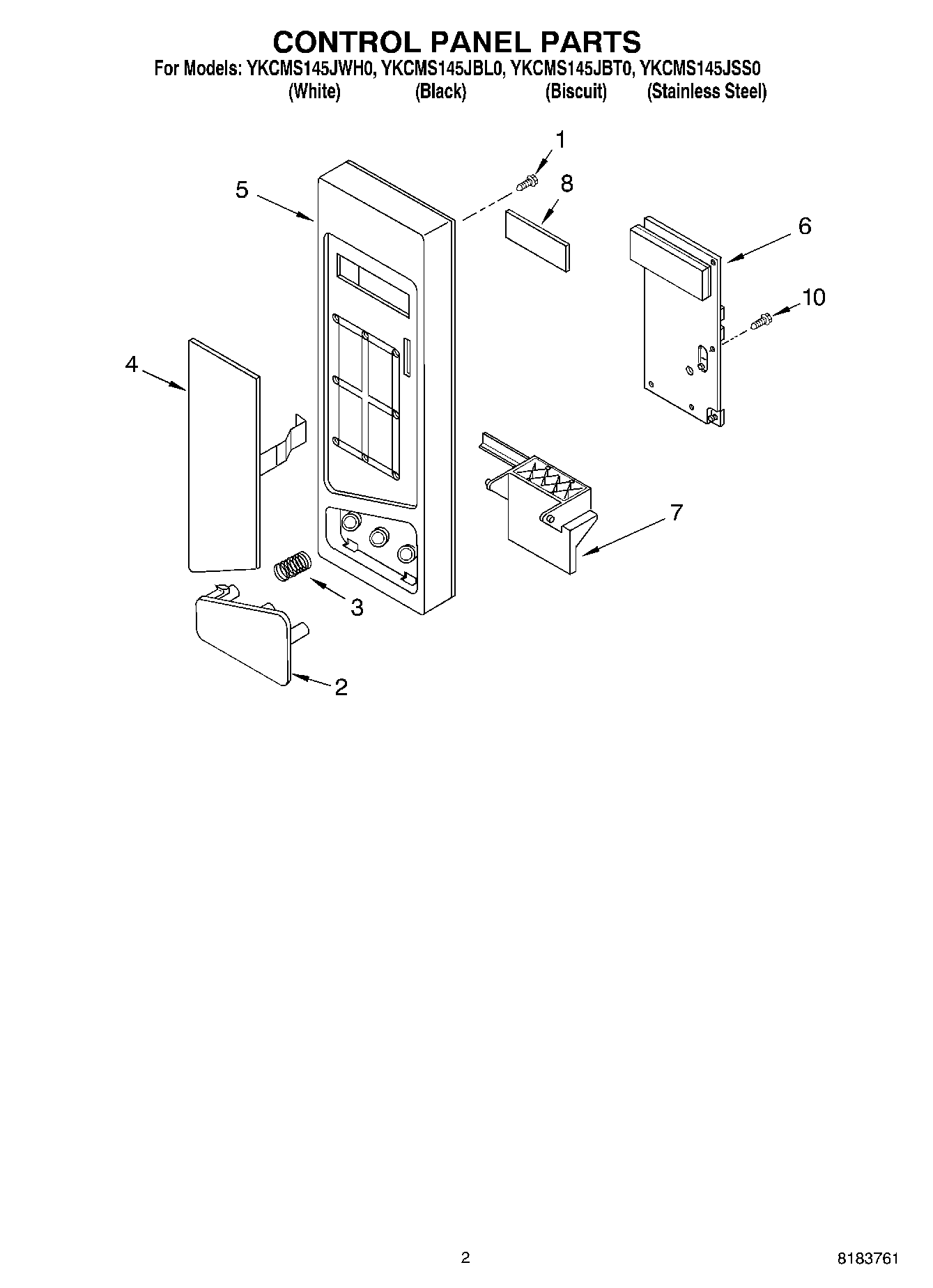
YKCMS145JWH0 02 – CONTROL PANEL PARTS