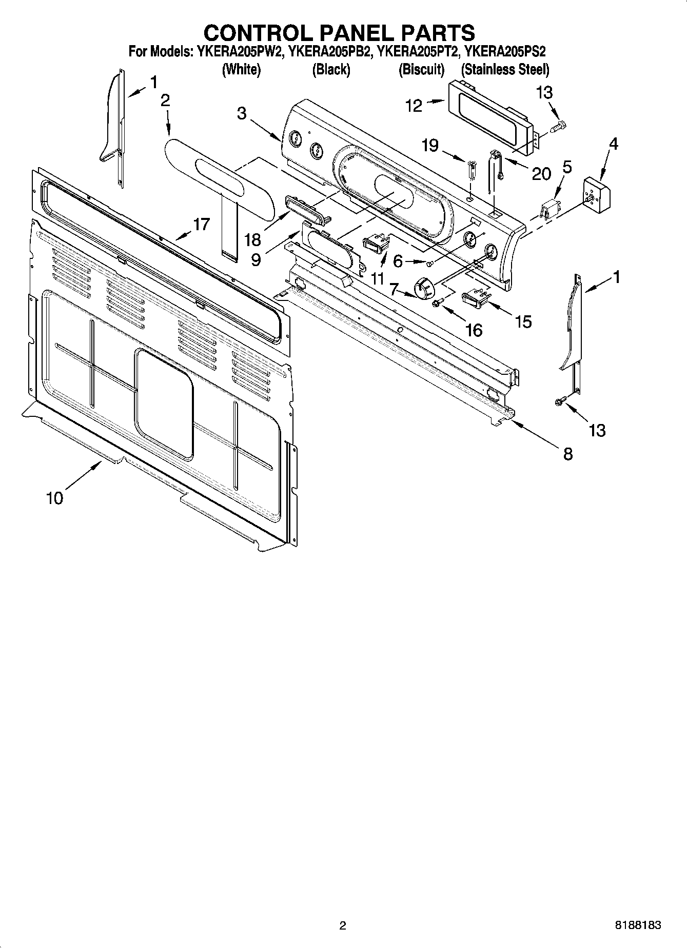
YKERA205PB2 02 – CONTROL PANEL PARTS