YKERC507HT3 02 – CONTROL PANEL PARTSadmin2025-04-26T11:08:31+00:00YKERC507HT3 02 – CONTROL PANEL PARTS
Products
| Position | Product |
|---|
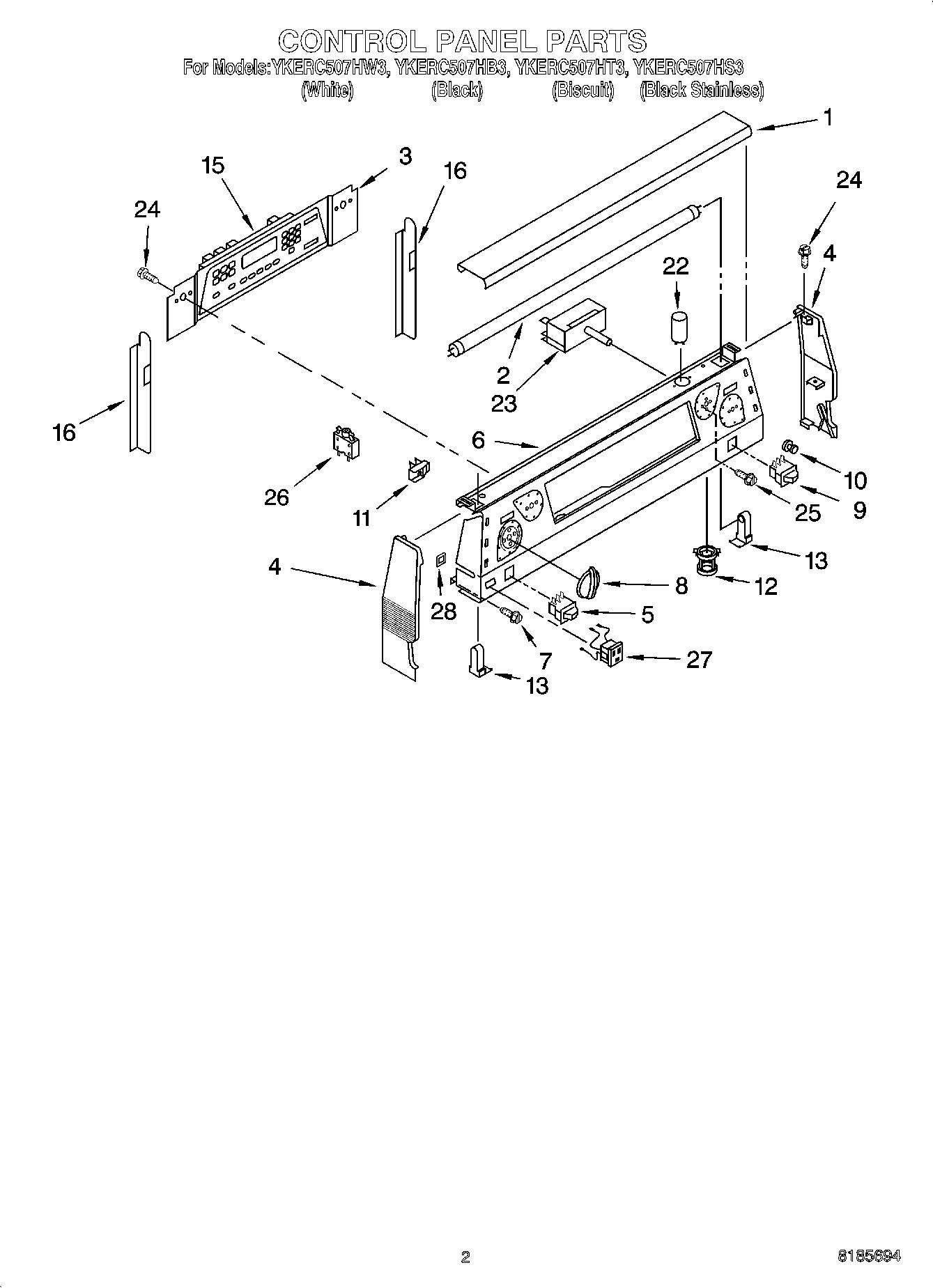
| 1 | Insulation, Control Panel |
| 1 | Lamp Cover (White) |
| 1 | Lamp Cover (Black) |
| 1 | Lamp Cover (Biscuit) |
| 2 | WP95292 Whirlpool Fluorescent Light Bulb |
| 4 | End Cap (Right Hand) (Black) |
| 4 | End Cap (Left Hand) (Black) |
| 4 | End Cap R.H. (Biscuit) |
| 4 | End Cap L.H. (Biscuit) |
| 4 | End Cap (Left Hand) (White) |
| 4 | End Cap (Right Hand) (White) |
| 5 | Switch, Warm Zone (Biscuit) |
| 5 | Switch, Rocker (Warm Zone) (Black) |
| 5 | Switch, Warm Zone (White) |
| 6 | PANEL, CONTROL (BISCUIT) |
| 6 | PANEL, CONTROL (BLACK) |
| 6 | PANEL, CONTROL (BLACK STAINLESS) |
| 6 | PANEL, CONTROL (WHITE) |
| 7 | Panel, Control (Screw, (2) 8 x 3/8) |
| 8 | WP9750372FC Whirlpool Knob |
| 8 | WP9750372FF Whirlpool Knob |
| 8 | WP9750372FW Whirlpool Knob Assembly |
| 9 | WPW10163899 Whirlpool Switch |
| 9 | Switch, Simmer (White) |
| 10 | WP9750343 Whirlpool Light Lens |
| 11 | Light, Indicator |
| 12 | Starter, Holder |
| 13 | Receptacle, Light |
| 15 | Oven Control Assembly (Biscuit) |
| 15 | Oven Control Assembly (Black) |
| 15 | Oven Control Assembly (White) |
| 16 | Brace, Control Pnl |
| 22 | Starter, Light |
| 23 | WP9750638 Whirlpool Infinite Switch |
| 23 | 8203538 Whirlpool Oven Infinite Switch |
| 23 | Insulation, Cntrl |
| 23 | WP9750639 Whirlpool Infinite Switch |
| 24 | WP4159387 Whirlpool Compactor Screw |
| 25 | WP3400882 Whirlpool Screw |
| 26 | Breaker, 15 Amp |
| 27 | Outlet, Untimed (2) |
| 27 | Outlet, Untimed |
| 27 | Outlet, Untimed |
| 28 | WPL 9751046 |