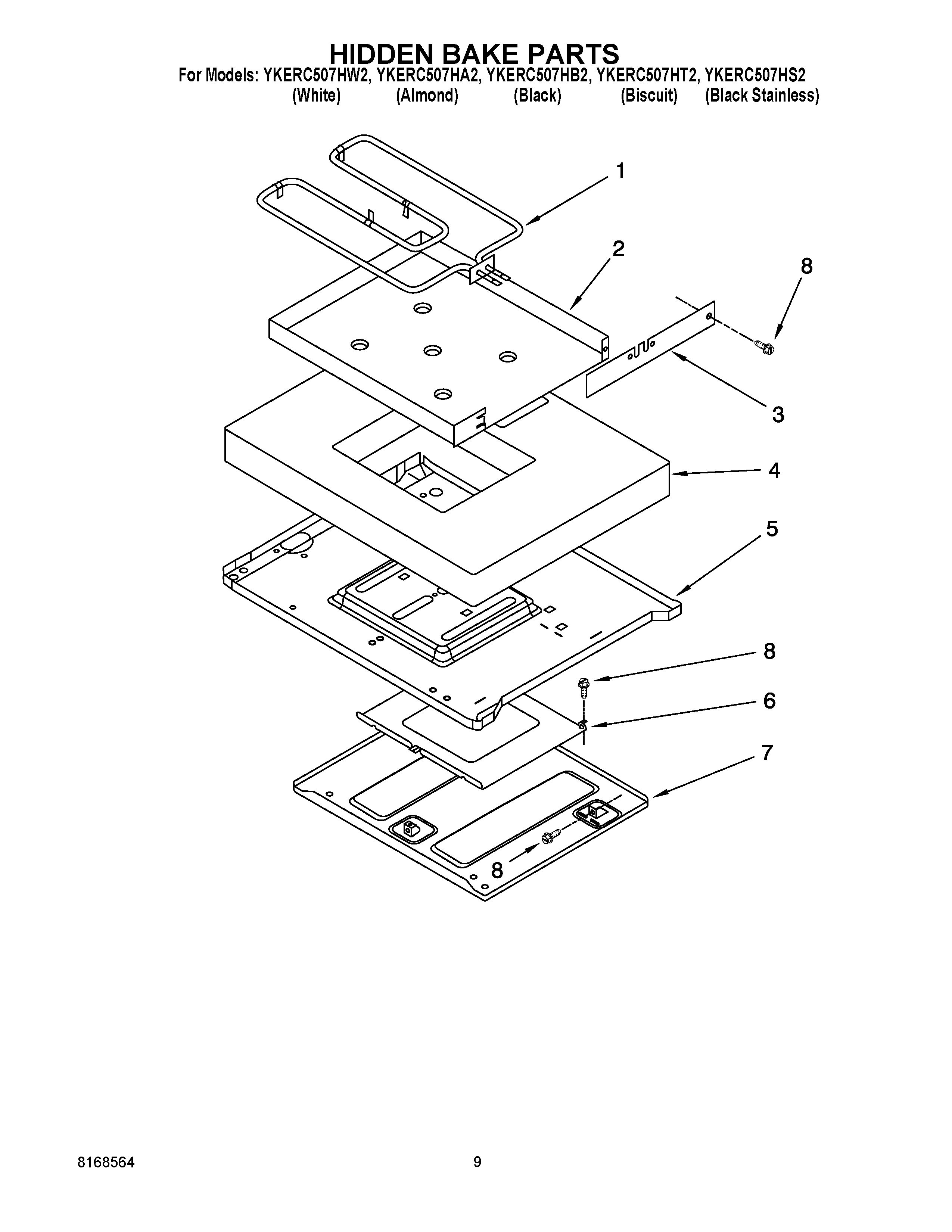
YKERC507HW2 08 – HIDDEN BAKE PARTSadmin2025-04-26T11:09:23+00:00YKERC507HW2 08 – HIDDEN BAKE PARTS ProductsPositionProduct1Element, Bake2Pan, Hidden Bake3Cover, Hidden Bake4Insulation5Retainer, Insulation6Plate, Reflector7Shield8WP4159387 Whirlpool Compactor Screw