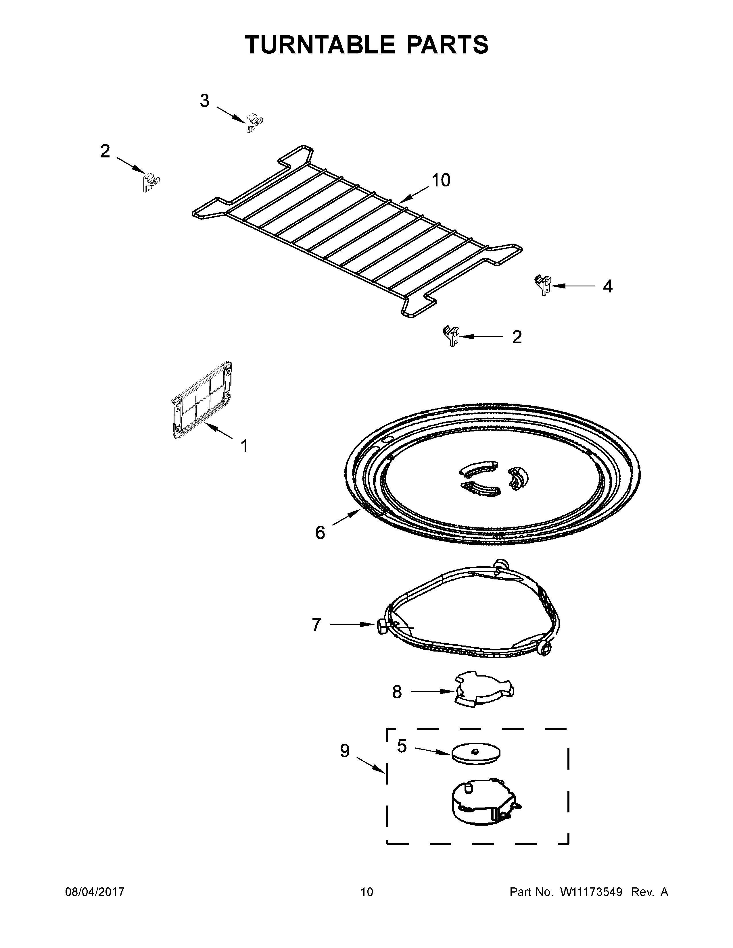
YMMV4203WS4 06 – TURNTABLE PARTSadmin2025-04-26T08:51:39+00:00YMMV4203WS4 06 – TURNTABLE PARTS ProductsPositionProduct1COVER, INLET MICA2HOOK FRONT3MAY W102452084MAY W102452095PLATE, WATERPROOF6TURNTABLE7RING, TURNTABLE (WITH ROLLERS)8MAY W103372489MOTOR, TURNTABLE10RACK