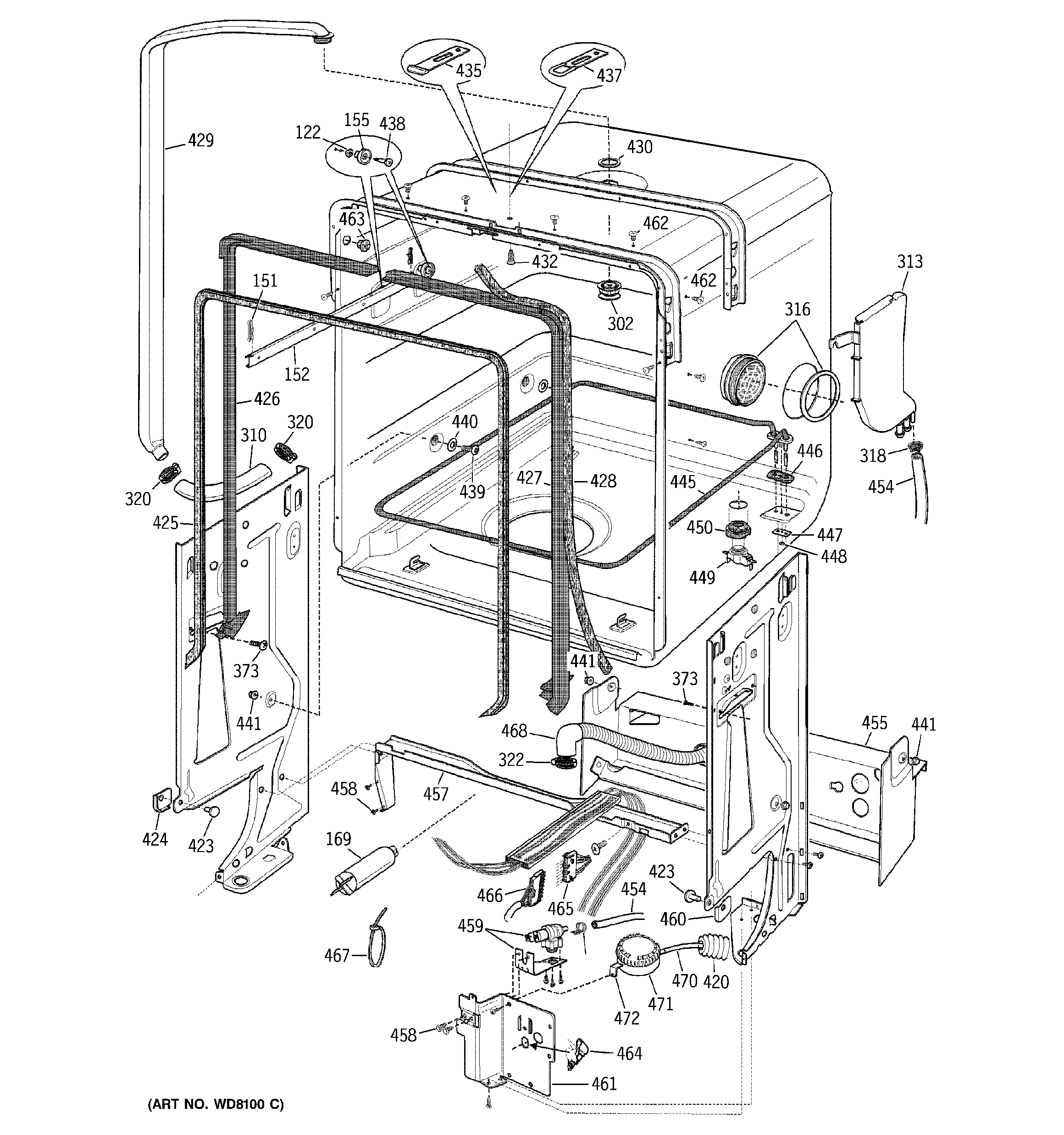
ZBD6400G00BB LINER ASSEMBLYadmin2025-04-26T10:48:13+00:00ZBD6400G00BB LINER ASSEMBLY ProductsPositionProduct122GEN WD01X10034151GEN WD01X10037152GEN WD01X10038155GEN WD12X10031169GEN WD21X10048302GEN WD08X10013310GEN WD24X10013313GEN WD01X10263316GEN WD02X10041318GEN WD01X10051320GEN WD01X10054322GEN WD01X10056373GEN WD02X10071420GEN WD18X10015423GEN WD01X10118424GEN WD01X10119425GEN WD01X10120426GEN WD01X10121427GEN WD01X10122428GEN WD01X10123429GEN WD18X10016430GEN WD08X10029432GEN WD02X10076435GEN WD13X10012437GEN WD13X10013438GEN WD01X10142439GEN WD02X10077440GEN WD02X10078441GEN WD02X10079445GEN WD30X10005446GEN WD01X10125447GEN WD30X10006448GEN WD02X10080449GEN WD05X10006450GEN WD01X10126454GEN WD18X10017455GEN WD27X10097457GEN WD34X10589458GEN WD02X10081459WD15X10004 GE Dishwasher Water Valve460GEN WD01X10136461GEN WD27X10098462GEN WD02X10082463GEN WD01X10137464GEN WD01X10127465GEN WD21X10127466GEN WD21X10128467GEN WD01X10128468GEN WD18X10018470GEN WD18X10019471GEN WD21X10129472GEN WD21X10130