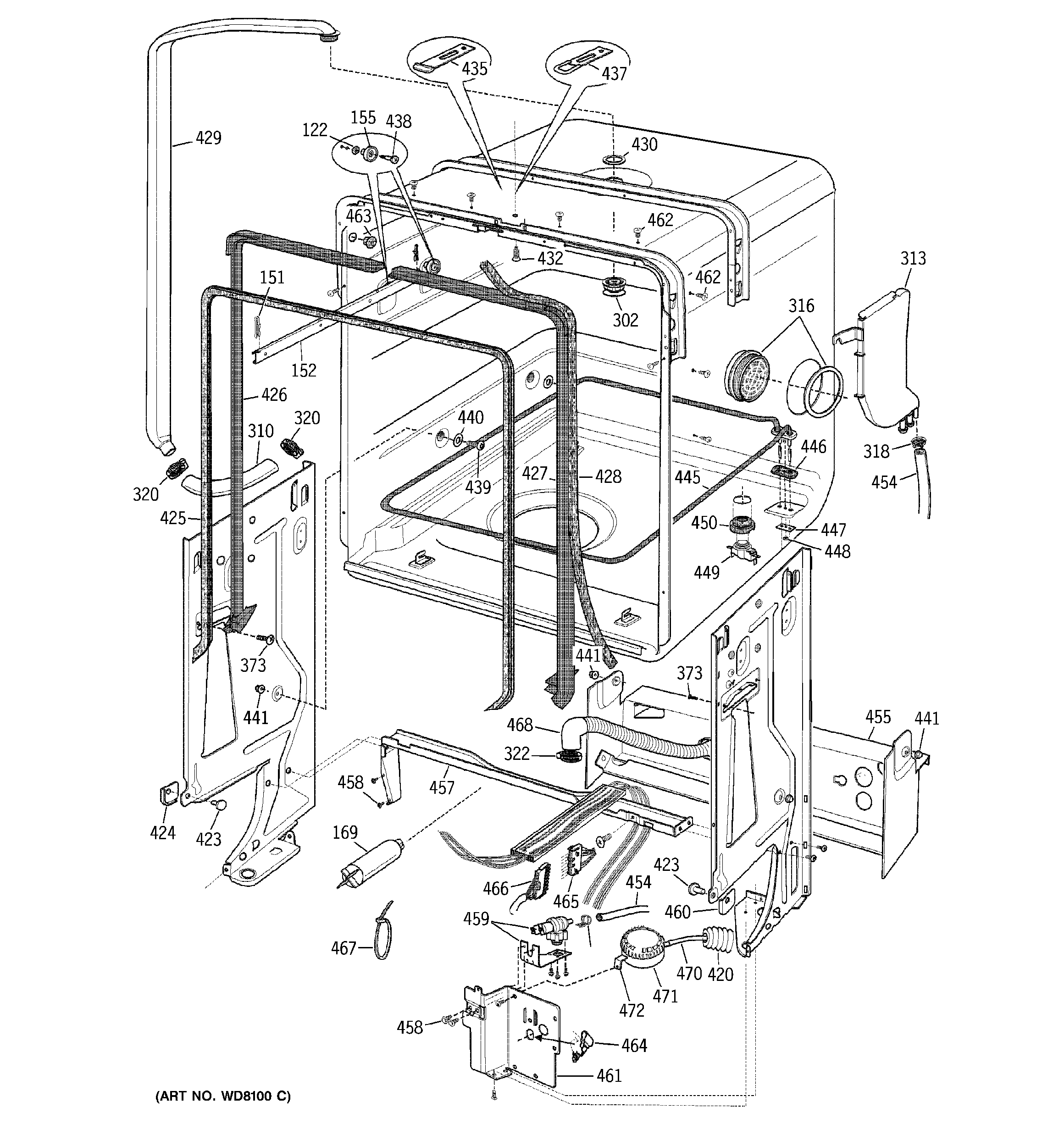
ZBD6400G01WW LINER ASSEMBLY