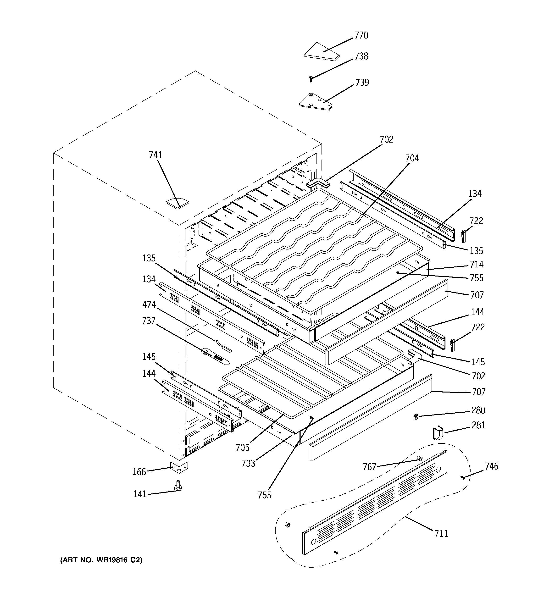
ZDWT240PABS CABINET & SHELVESadmin2025-04-26T10:42:16+00:00ZDWT240PABS CABINET & SHELVES ProductsPositionProduct134WR17X11393 GE Refrigerator Inner Liner Guide135WR72X10122 GE Frame Guide141WR01X10456 GE Refrigerator Leveling Leg144WR17X11394 GE Refrigerator Inner Liner Guide Short145GEN WR72X10123166WR02X11844 GE Leveling Leg Support280WR01X10490 GE Refrigerator Clip281GEN WR02X12051474WR55X10409 GE Refrigerator Temperature Sensor702GEN WR02X11409704WR71X10468 GE Refrigerator Bottle Rack705GEN WR71X10469707GEN WR17X11390711GEN WR79X10031711WR74X10210 GE Kick Plate Kit - Black714GEN WR72X10120722WR02X11412 GE Front Guide733WR72X10121 GE Refrigerator Bottle Shelf Frame737WR02X11845 GE Temperature Control Bulb Cover738WR01X10349 GE Upper Hinge Screw739WR13X10276 GE Refrigerator Right Upper Hinge741WR02X11411 GE Refrigerator Fill Plug Hinge746WR01X10457 GE Refrigerator Kick Plate Screw Black746WR01X10469 GE Black Kick Plate Screw755WR01X10354 GE Frame Front Screw767WR02X11485 GE Spacer Kick Plate770WR02X11486 GE Refrigerator Cover Hinge Support Right Hand