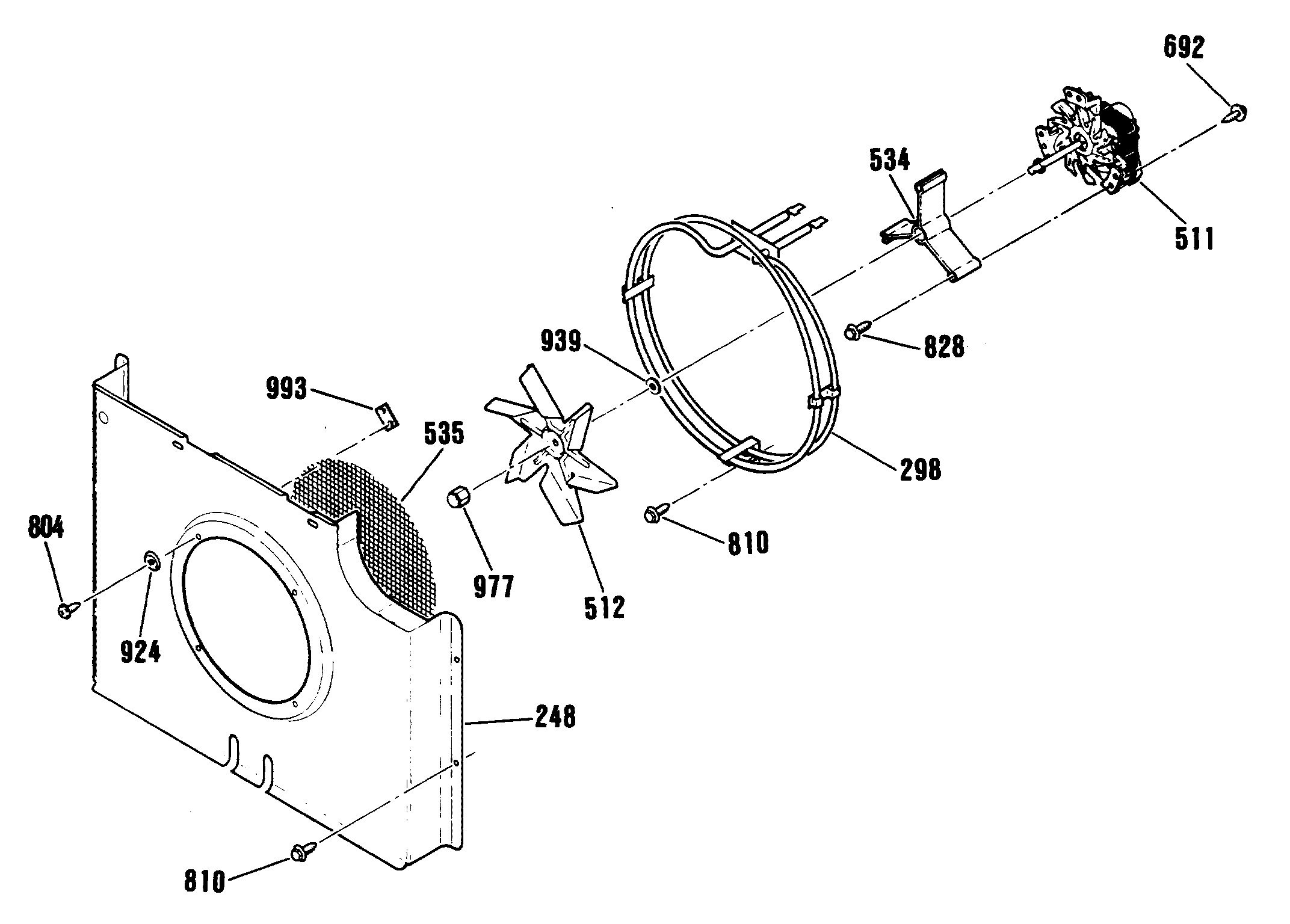
ZEK736GP5BG 2