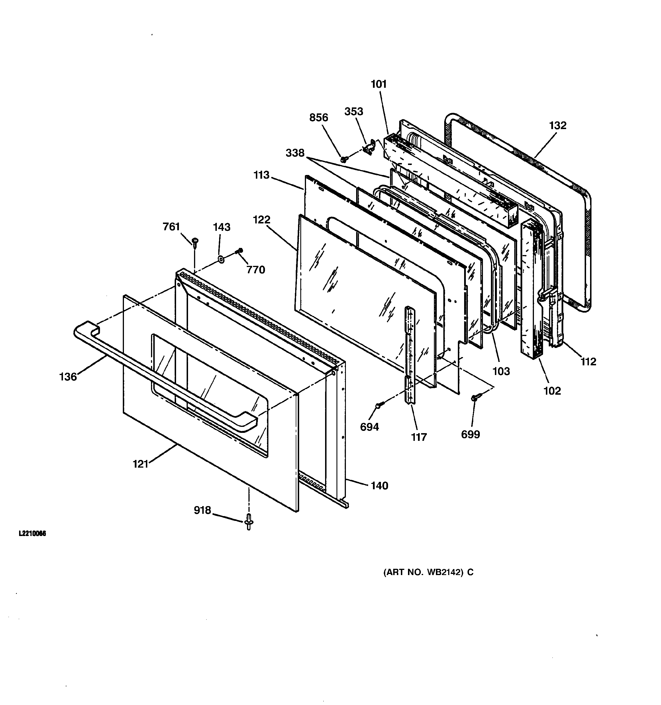
| 101 | WB35K5097 GE Oven Door Insulation SD |
| 103 | WB02T10015 GE Oven Window Spacer |
| 112 | GEN WB55T10026 |
| 113 | WB02T10016 GE Door Insulation Retainer |
| 117 | WB56T10373 GE Oven Door Retainer Kit |
| 121 | GEN WB57T10103 |
| 122 | GEN WB57T10079 |
| 132 | WB32T10006 GE Oven Door Gasket |
| 136 | GEN WB15K5093 |
| 140 | GEN WB55K5061 |
| 143 | WB2K5147 GE Oven Spacer |
| 338 | GEN WB56T10004 |
| 353 | WB2X8320 GE Oven Window Clip |
| 694 | WB1K5157 GE Oven Black Screw |
| 699 | WB1M1 GE Oven Screw |
| 761 | WB1K5185 GE Oven White Screw |
| 761 | WB1K5029 GE Oven Screw |
| 770 | WB1K5072 GE Oven Screw |
| 770 | WB01T10011 GE Oven Screw 8-18 |
| 856 | WB1X1293 GE Oven Screw |
| 918 | WB1K5071 GE Oven Plastic Rivet |