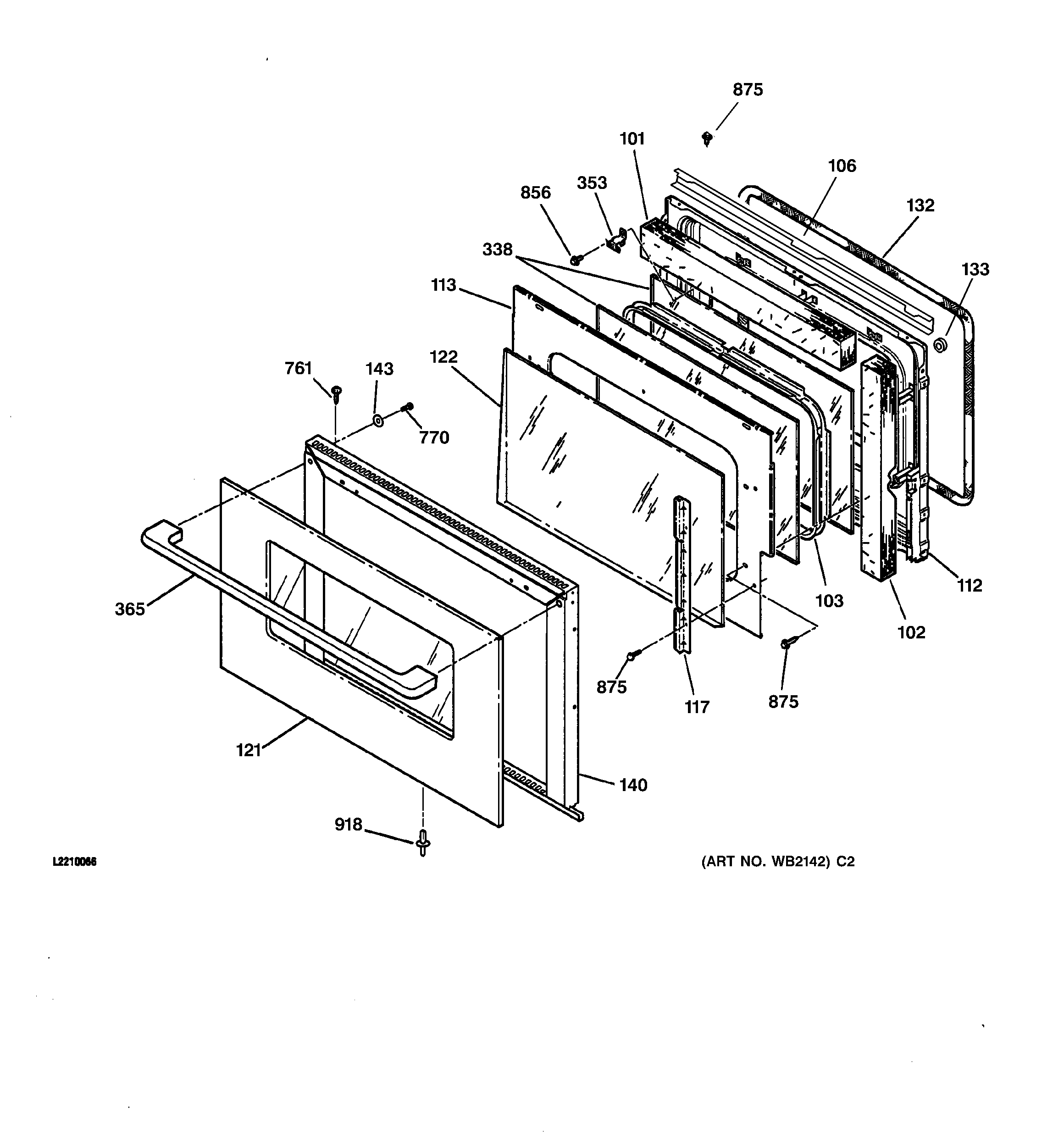
ZEK737WA3WW DOOR