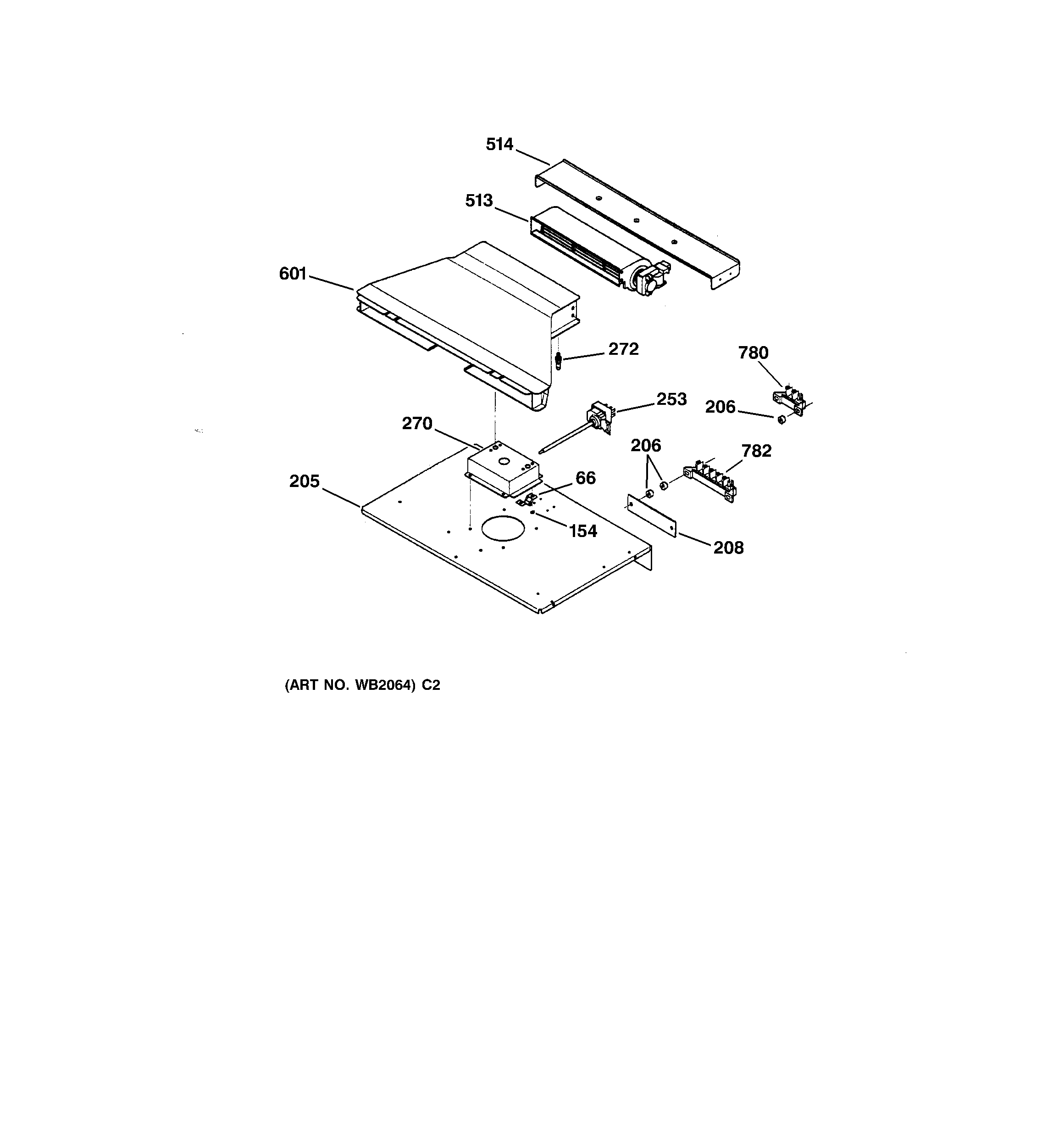
ZET857SBSS BLOWER