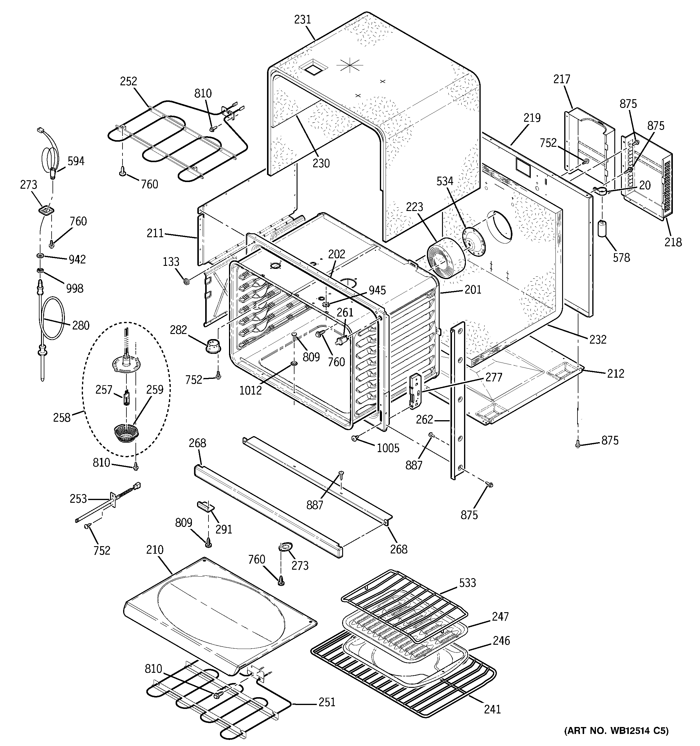
ZET938BF6BB BODY PARTS

ZET938BF6BB BODY PARTS