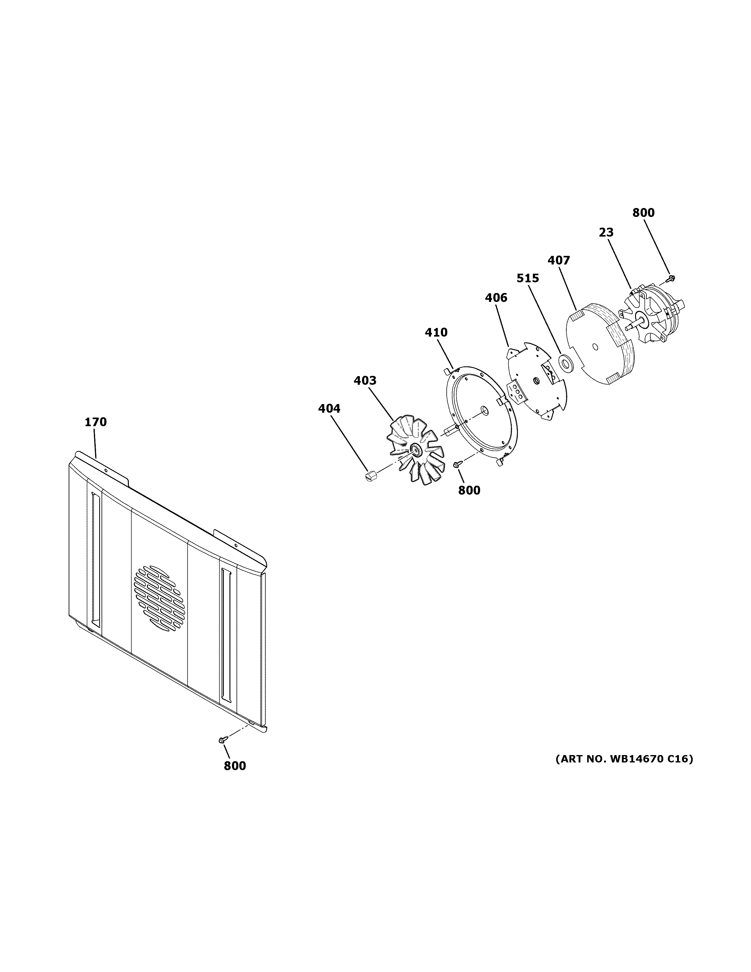
ZGP366NN1SS CONVECTION FANadmin2025-04-26T11:37:27+00:00ZGP366NN1SS CONVECTION FAN ProductsPositionProduct23WB26T10037 GE Oven Convection Motor PSC170COVER FAN 27"403WB02T10289 GE Oven Stirring Fan Blade404WB02T10017 GE Oven Nut406WB02T10293 GE Range Mounting Convex Meter407WB35K10128 GE Oven Insulation410WB02T10310 GE Convection Plate515WB01T10079 GE Range Gasket800WB01K10042 GE Oven Screw 3/8" AB IHW 8-18