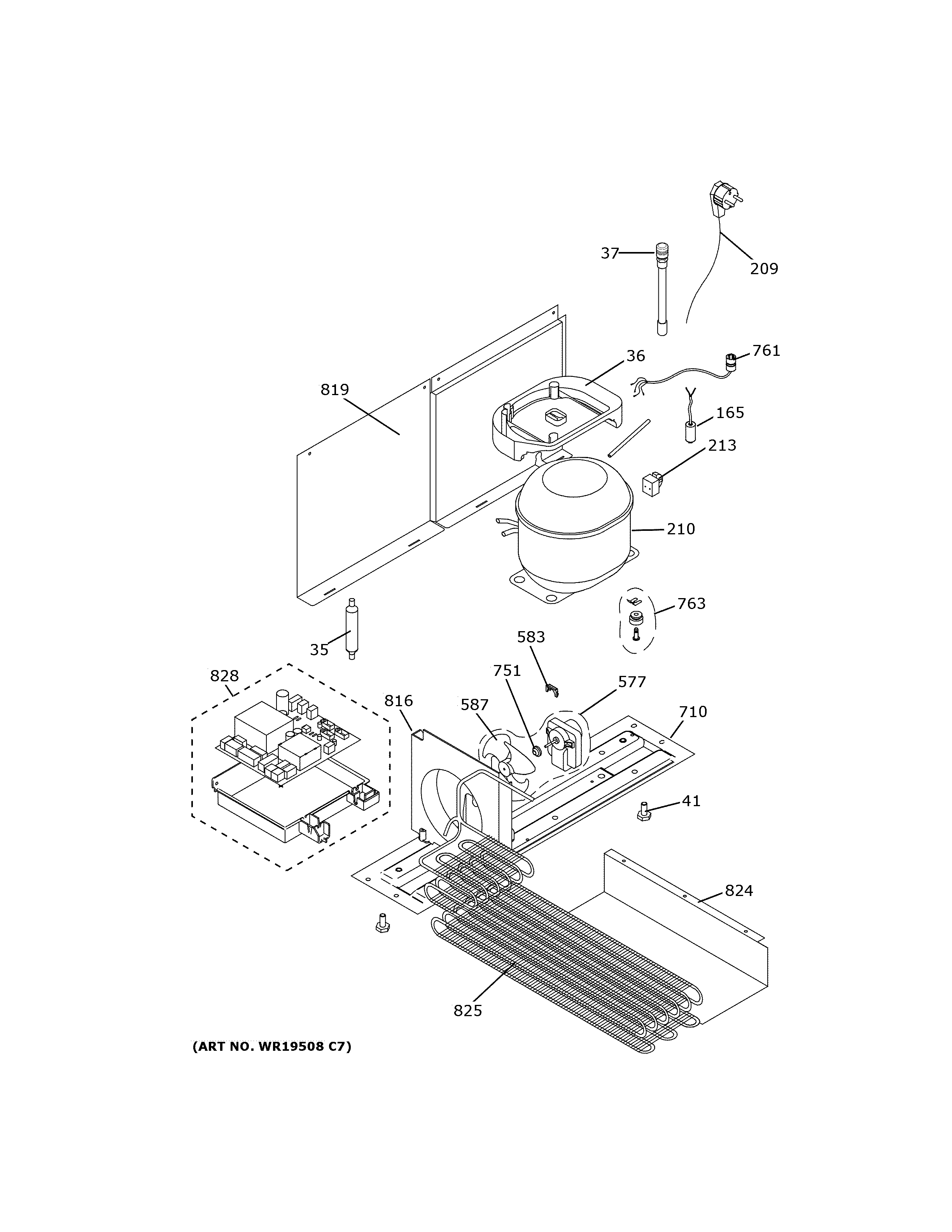
ZIDS240NDSS MACHINE COMPARTMENTadmin2025-04-26T10:52:01+00:00ZIDS240NDSS MACHINE COMPARTMENT ProductsPositionProduct35WR87X30875 GE Refrigerator R600 Dryer with Red Cap36DRAIN PAN37WR87X30876 GE Refrigerator R600 Process Valve with Red Cap41WR01X10384 GE Refrigerator Rear Levelling Leg165CAPACITOR209WR23X10373 GE Refrigerator Power Cord210WR87X35307 GE Refrigerator Compressor213PTCR COMBO577WR60X23878 GE Refrigerator Condenser Fan Motor583WR01X23838 GE Condenser Fan Spring Pin587WR60X10164 GE Refrigerator Fan Propeller710BASE PLATE751WR01X10350 GE Fan Rubber761COMPRESSOR HARNESS763WR01X10452 GE Compressor Mounting Kit816WR17X11675 GE Refrigerator Condenser Fan Housing819MACHINE COVER824WR17X11679 GE Condenser Canal825CONDENSER828WR55X35325 GE Refrigerator Power Supply Board