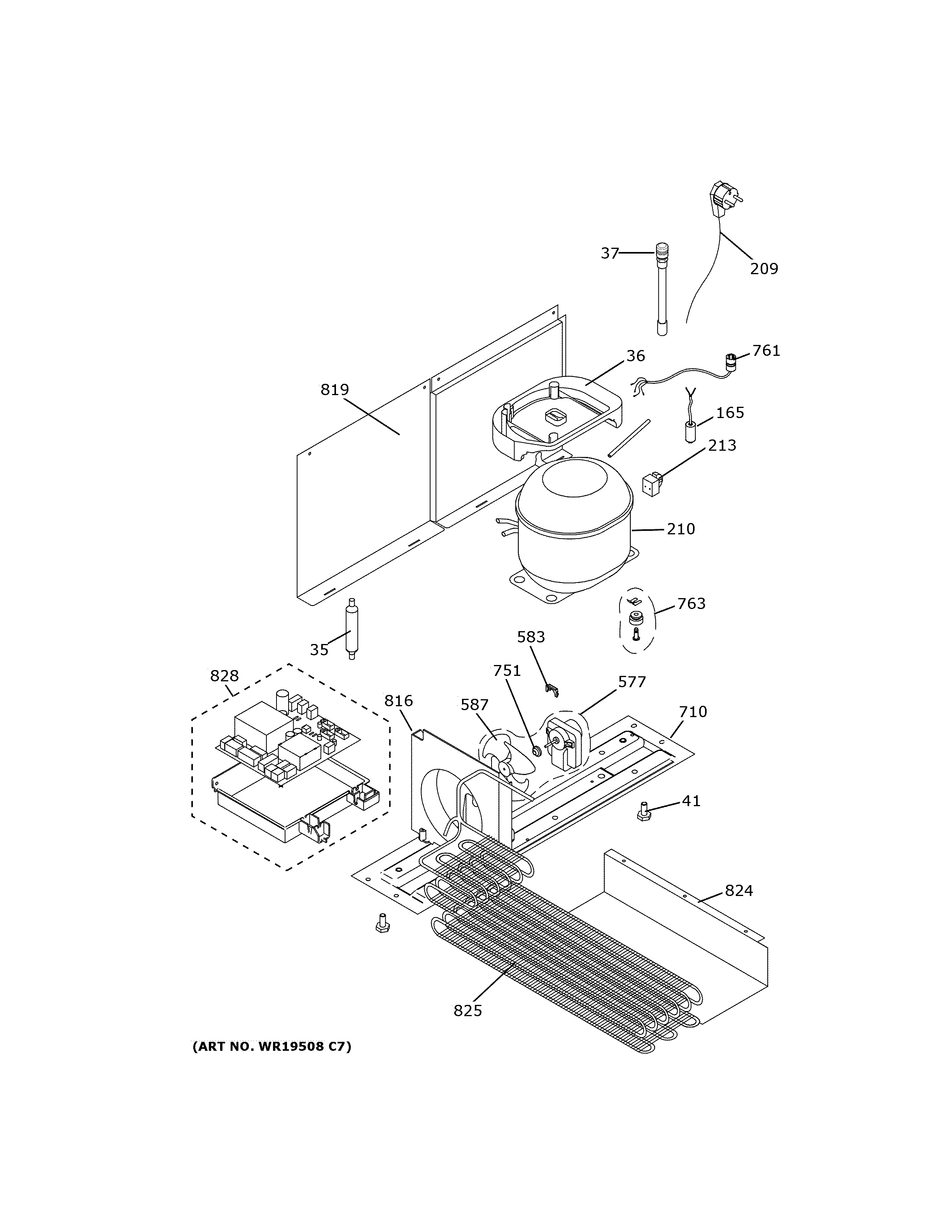
ZIFI240HCII MACHINE COMPARTMENT