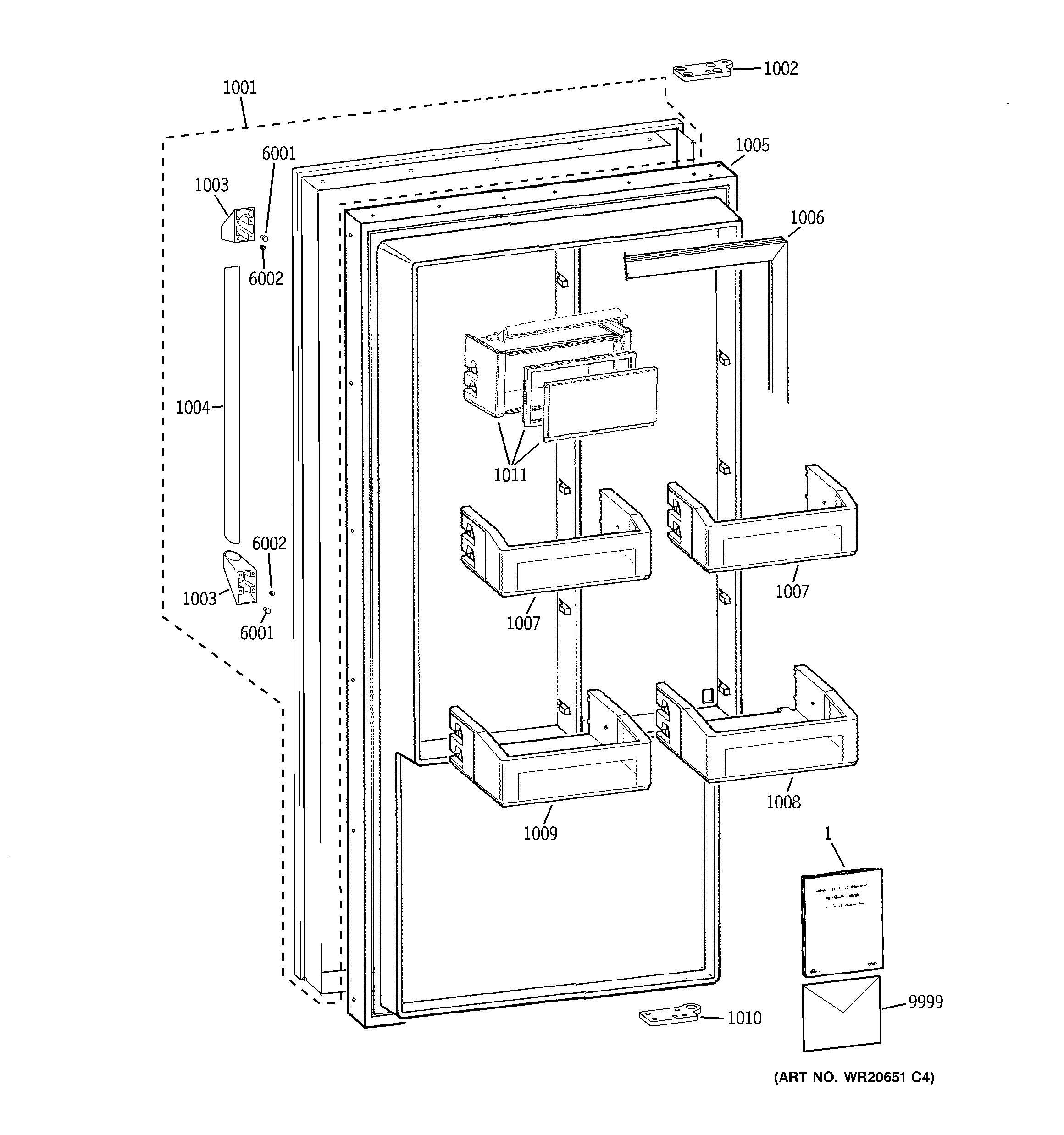
ZIRP360NXALH DOOR