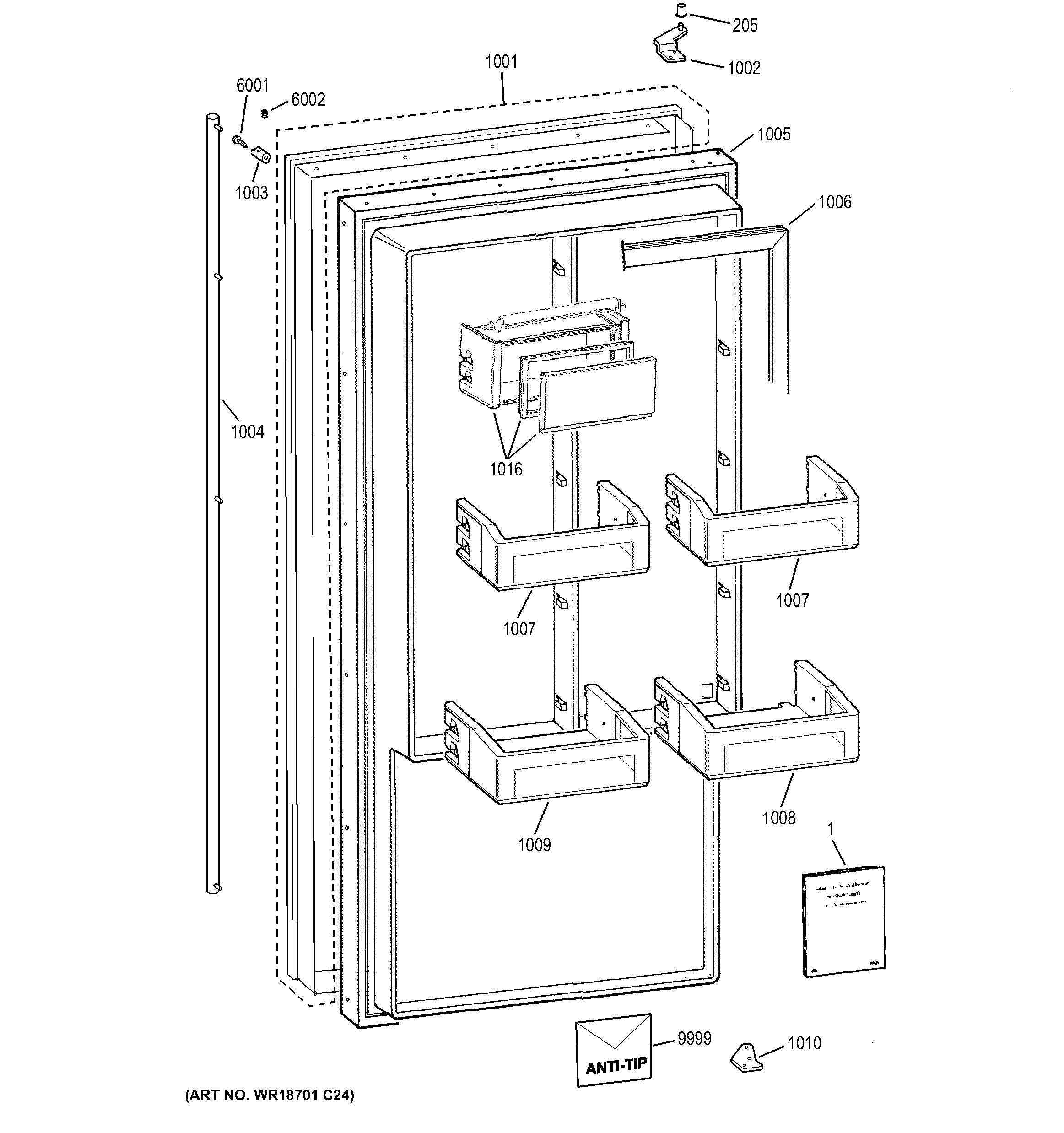
| 1 | PM MINI MANUAL |
| 1 | PM INSTALL INSTRUCTIONS |
| 1 | PM OWNERS MANUAL |
| 205 | WR02X10954 GE Refrigerator Bushing Hinge Top |
| 1001 | WRAP SD EURO LH |
| 1002 | WR13X25051 GE Refrigerator Top Left-Hand Door Hinge Assembly |
| 1003 | WR12X27598 GE Refrigerator Euro Standoff Kit |
| 1004 | WR12X27601 GE Refrigerator Euro Side-by-Side Handle Kit |
| 1005 | WR78X23776 GE Refrigerator Door Complete SD Service |
| 1006 | DOOR GASKET SD |
| 1007 | WR71X10138 GE Refrigerator Door Shelf Bin |
| 1008 | WR71X10139 GE Refrigerator Fresh Food Bin Door |
| 1009 | WR71X10140 GE Refrigerator Bin Door |
| 1010 | WR13X10657 GE Refrigerator Bottom Door Hinge |
| 1016 | WR71X10142 GE Refrigerator Assembly Dairy Compressor |
| 6001 | WR01X10057 GE Refrigerator Screw |
| 6002 | WR01X10026 GE Refrigerator Screw Set |
| 9999 | WR49X21844 GE Refrigerator Anti Tip Hardware Assembly |