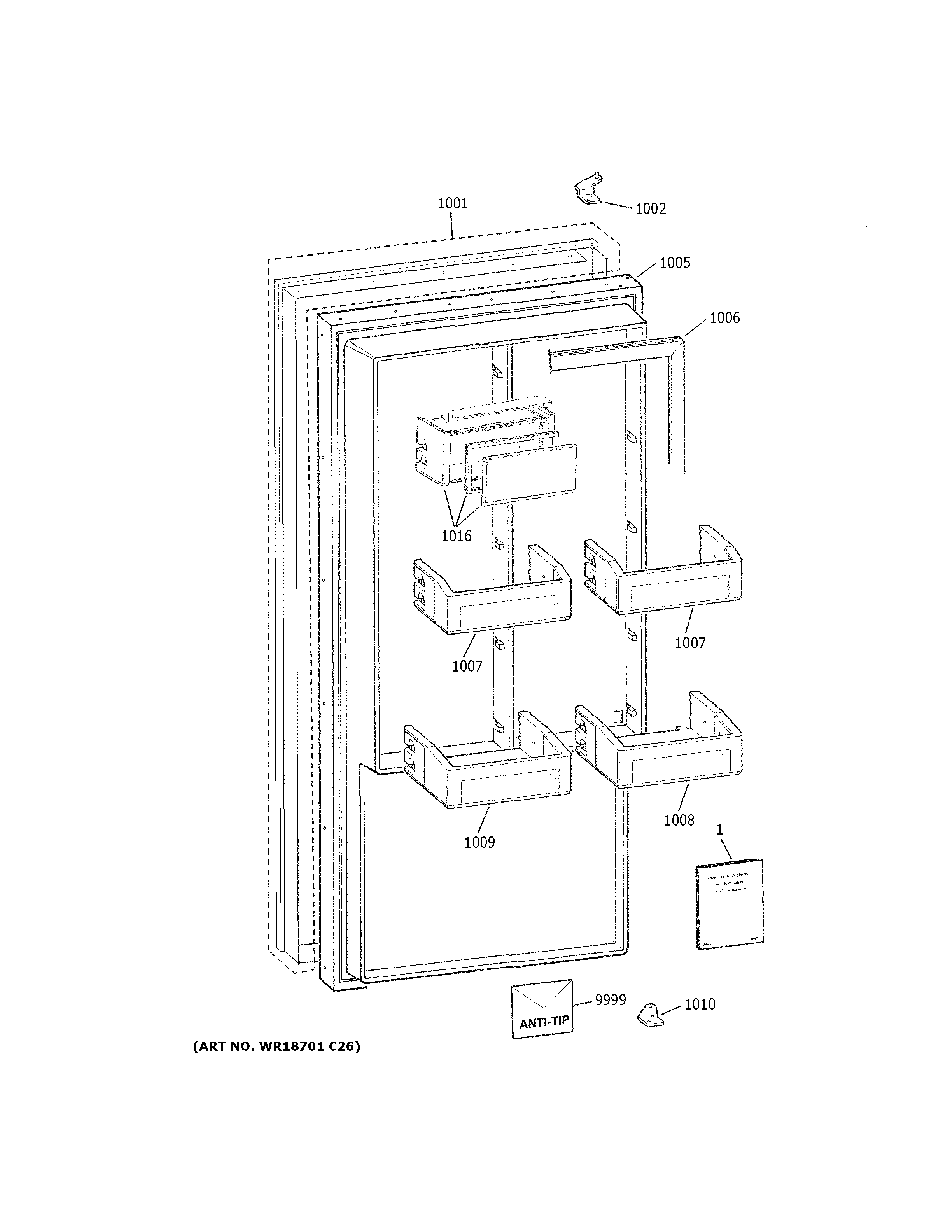
| 1 | PM MINI MANUAL |
| 1001 | WR78X32606 GE Refrigerator Stainless Single Door Wrap |
| 1002 | WR13X25052 GE Refrigerator Top Right Hand Door Hinge Assembly |
| 1005 | REFRIGERATOR SINGLE DOOR |
| 1006 | DOOR GASKET SD |
| 1007 | WR71X10138 GE Refrigerator Door Shelf Bin |
| 1008 | WR71X10139 GE Refrigerator Fresh Food Bin Door |
| 1009 | WR71X10140 GE Refrigerator Bin Door |
| 1010 | WR13X10657 GE Refrigerator Bottom Door Hinge |
| 1016 | WR71X10142 GE Refrigerator Assembly Dairy Compressor |
| 9999 | WR49X21844 GE Refrigerator Anti Tip Hardware Assembly |