| 1 | GEN 31-51379 |
| 1 | GEN 49-60141 |
| 1 | GEN 49-60073-1 |
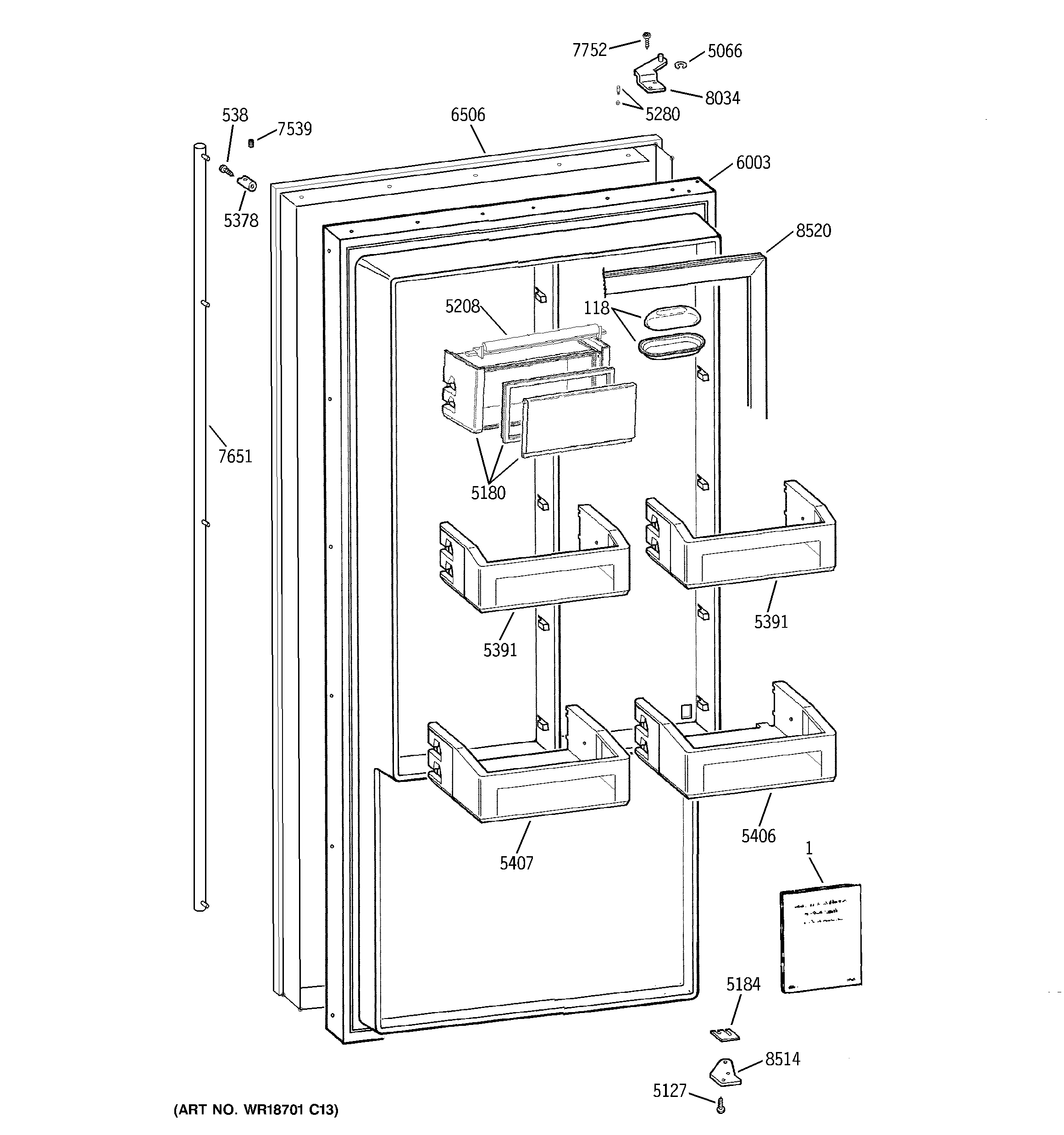
| 538 | WR01X10057 GE Refrigerator Screw |
| 5066 | SPACER HINGE BUSHING |
| 5127 | WR01X10177 GE Refrigerator Hinge Screw Door Bottom |
| 5180 | WR71X10142 GE Refrigerator Assembly Dairy Compressor |
| 5184 | GEN WR01X10054 |
| 5208 | WR22X10007 GE Refrigerator Dairy Seal Assembly |
| 5280 | GEN WR02X10441 |
| 5378 | WR12X27598 GE Refrigerator Euro Standoff Kit |
| 5391 | WR71X10138 GE Refrigerator Door Shelf Bin |
| 5406 | WR71X10139 GE Refrigerator Fresh Food Bin Door |
| 5407 | WR71X10140 GE Refrigerator Bin Door |
| 6003 | GEN WR78X10325 |
| 6506 | GEN WR97X10020 |
| 7539 | WR01X10026 GE Refrigerator Screw Set |
| 7651 | WR12X27601 GE Refrigerator Euro Side-by-Side Handle Kit |
| 7752 | WR1X1754D GE Refrigerator Screw Package |
| 8034 | GEN WR13X10082 |
| 8514 | GEN WR13X10085 |
| 8520 | DOOR GASKET SD |