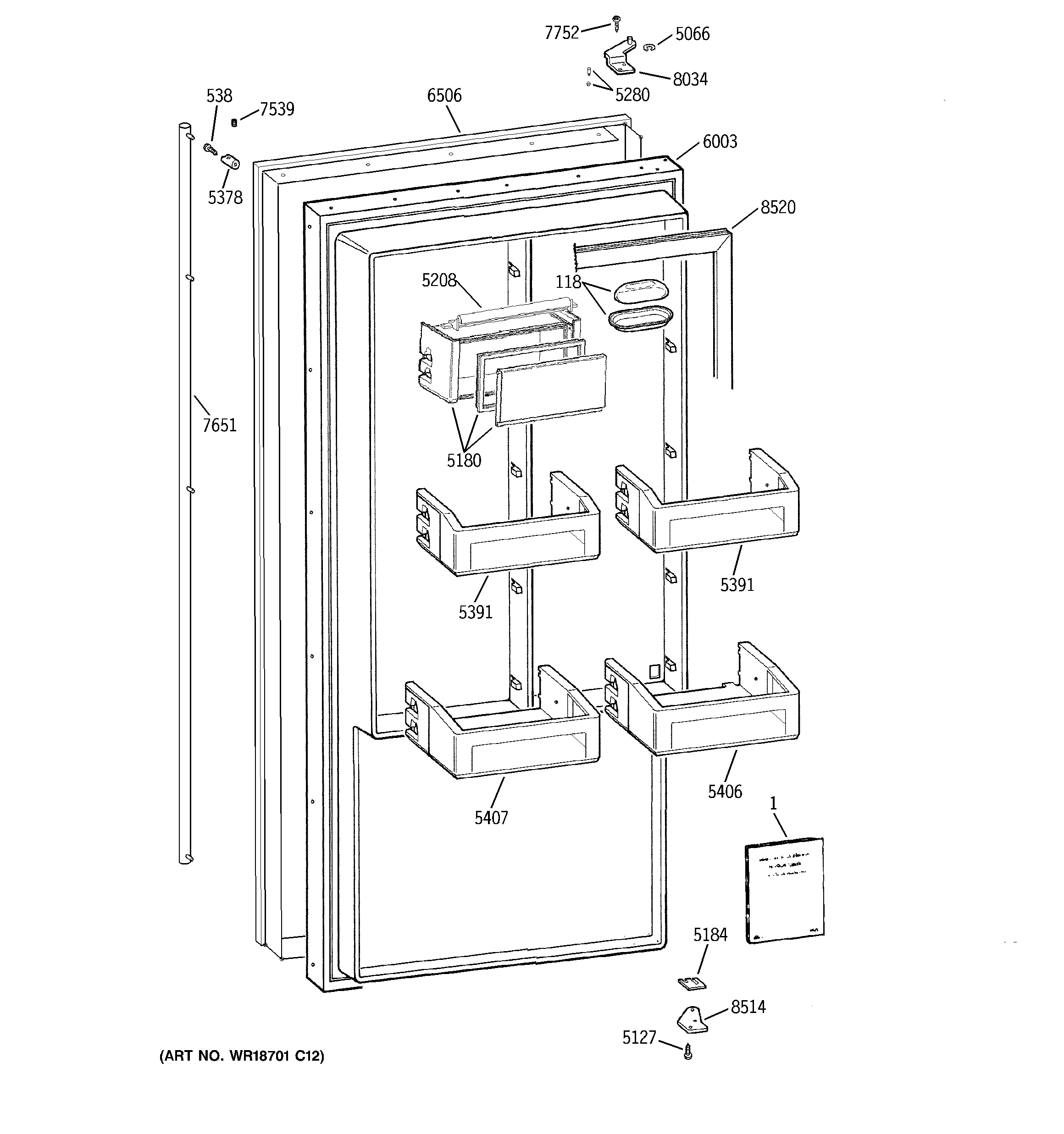
ZIRS36NMDLH DOOR