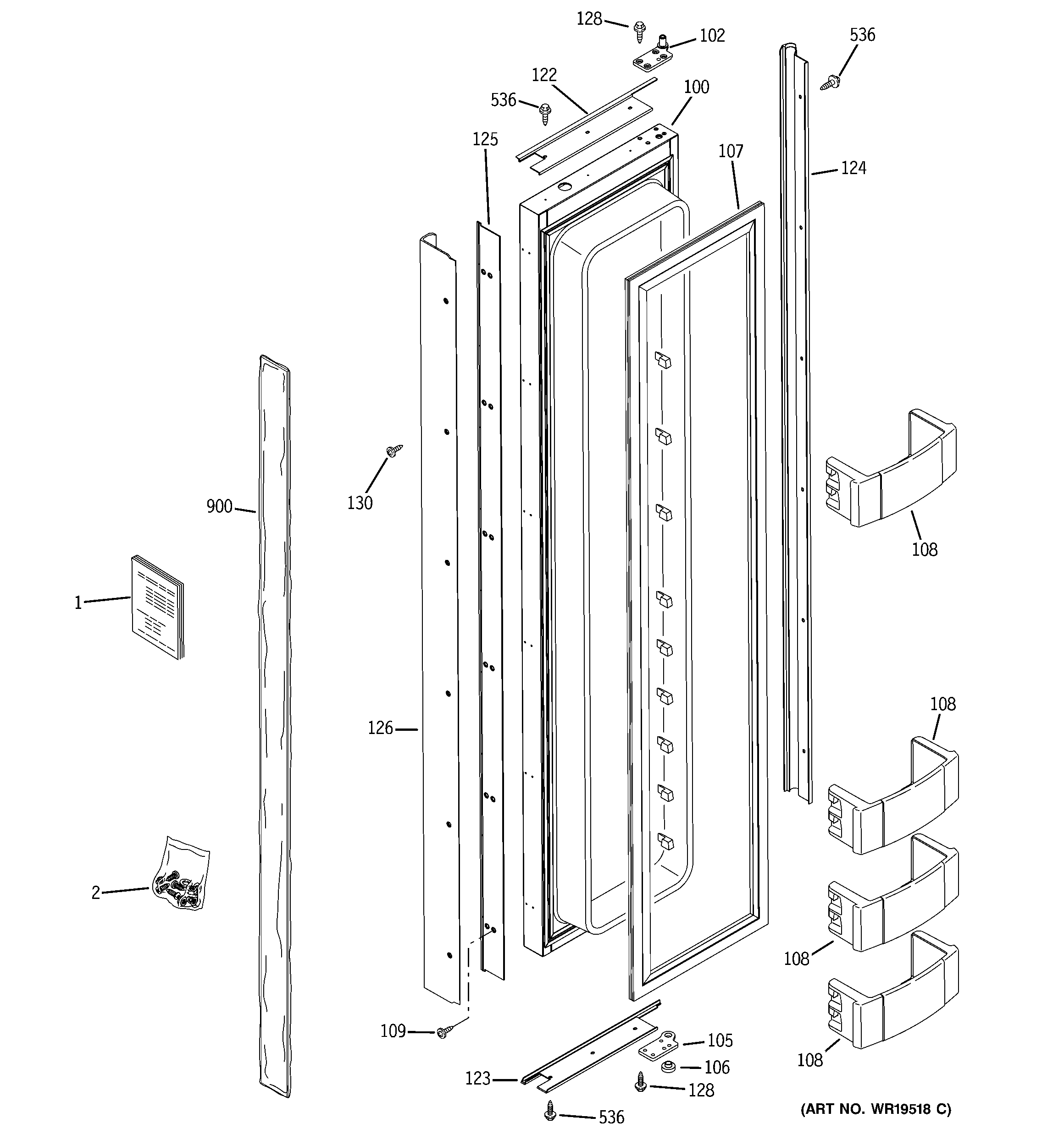
ZIS420NRG FREEZER DOOR