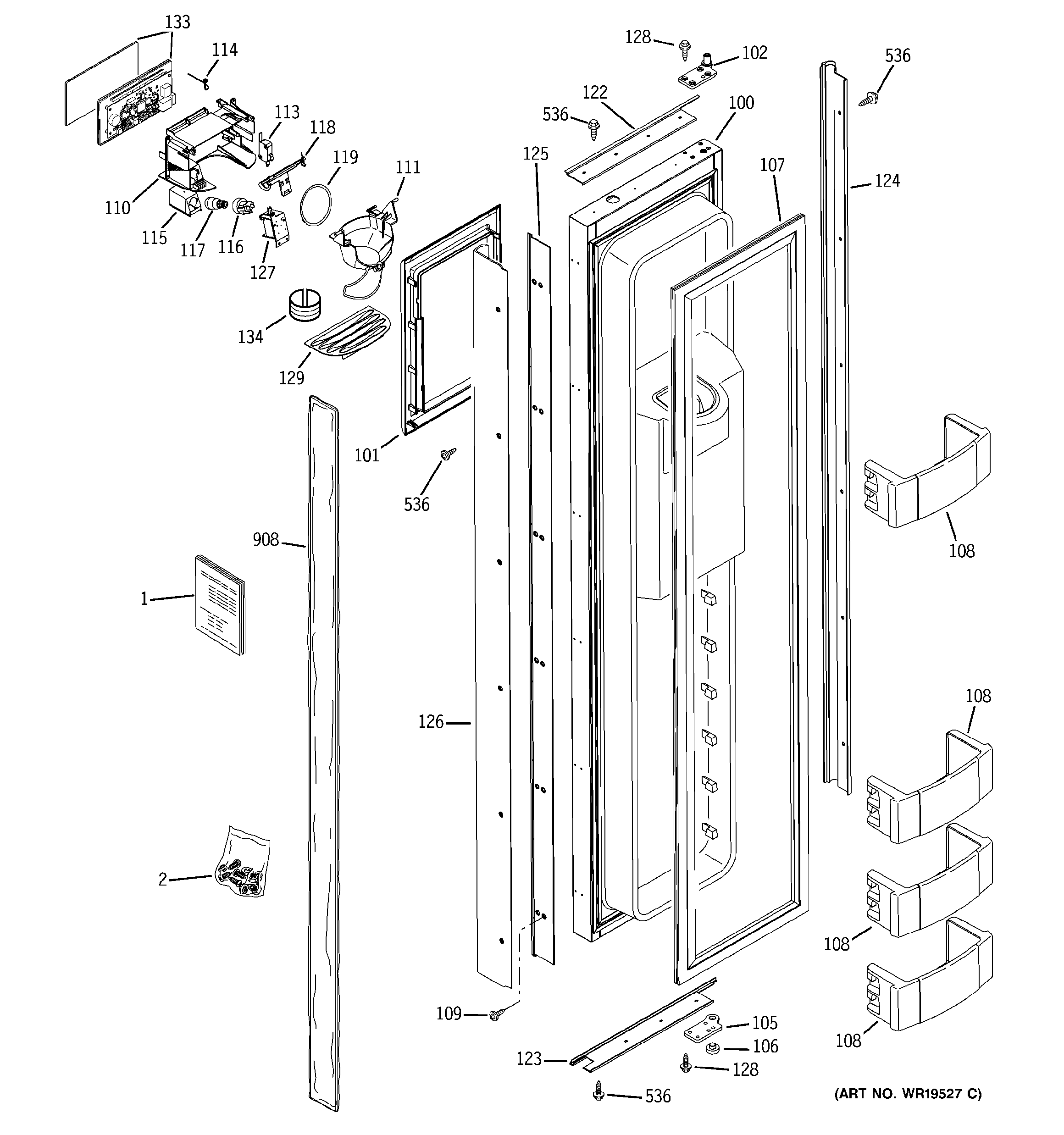
ZISB480DRB FREEZER DOOR