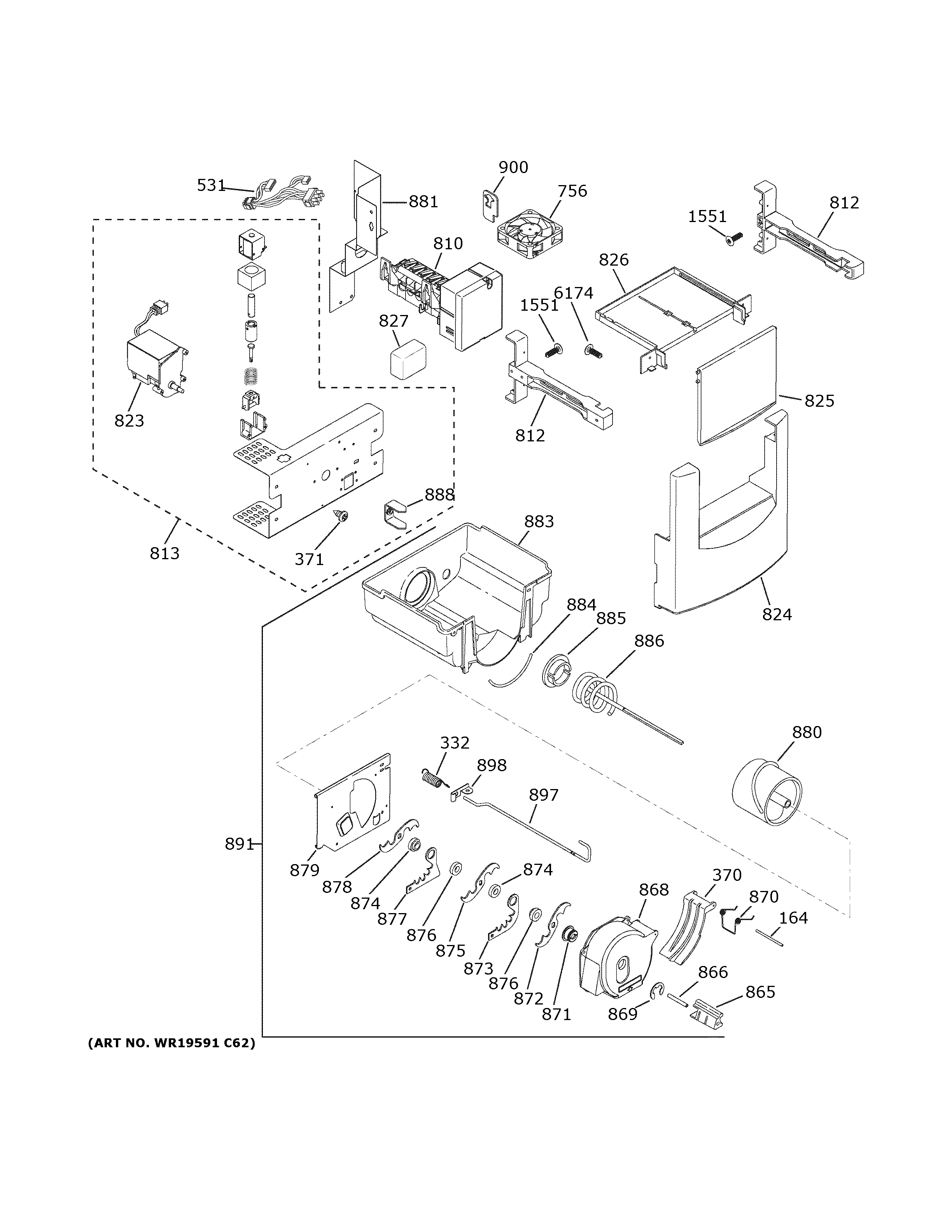
ZISS420DNGSS ICE MAKER & DISPENSER

ZISS420DNGSS ICE MAKER & DISPENSER

Products

PositionProduct
164WR2X4143 GE Refrigerator Pivot
332WR02X13352 GE Deflector Spring
370WR17X12794 GE Refrigerator Deflector Ice Dispenser
371WR01X10618 GE Refrigerator Screw 8-18 TPT 1/4
531WR55X32728 GE Refrigerator Small Icemaker Jumper Harness
756WR60X32733 GE Refrigerator Icemaker Fan
810ICEMAKER
812WR72X10103 GE Refrigerator Bucket Slide
813WR60X32621 GE Refrigerator Auger Motor 36"-42"
823WR60X10276 GE Refrigerator Auger Motor Dispenser
824WR17X11218 GE Refrigerator Front Ice Bin
825WR17X12547 GE Refrigerator Ice Bin Door
826WR71X10420 GE Refrigerator Ice Bin Door Track
827WR02X13454 GE Cover Air Motor
865WR02X13319 GE Dispenser Blade Rest
866GEN WR02X4141
868WR17X12821 GE Housing Crusher Dispenser
869WR1X1367D GE Refrigerator Return Package 12
870GEN WR02X4561
871WR01X10925 GE Front Dispense Nut
872WR17X1361 GE Refrigerator Blades Moving Display
873WR17X2058 GE Refrigerator Dispenser Blade
874WR2X4138 GE Refrigerator Spacer
875WR17X1362 GE Refrigerator Middle Blade
876GEN WR02X4139
877GEN WR17X1009
878WR17X1363 GE Refrigerator Blades Moving Display
879WR17X12822 GE Refrigerator Plate Front Dispenser
880WR17X4207 GE Refrigerator Front Helix
881FILL TUBE COVER
883WR30X322 GE Refrigerator Bucket Dispenser
884WR2X7905 GE Refrigerator Bucket Seal
885WR02X13321 GE Drive Cup
886WR17X10044 GE Refrigerator Auger Helix Display
888WR02X11937 GE Refrigerator Drive Auger Dispenser
891WR30X32633 GE Refrigerator Ice Bucket
897WR17X11411 GE Refrigerator Wire Actuator Dispenser
898WR02X13322 GE Wire Retainer Actuator
900ICEMAKER SPACER
1551WR1X5645 GE Refrigerator Screw
6174WR01X10449 GE Screw 6X1/2 Pan Head Phillips