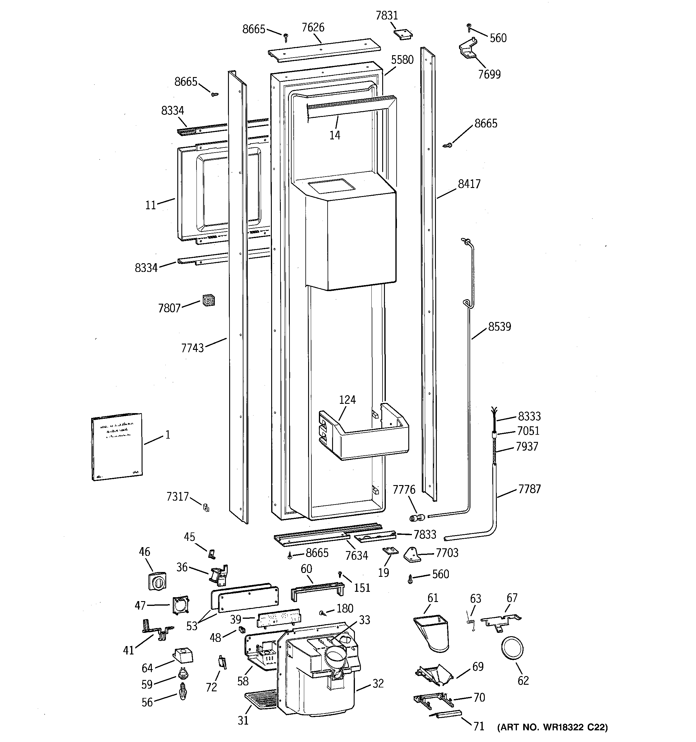
ZISW42DCA FREEZER DOOR